Главная >> Задачник по физике 10-11 класс. Рымкевич

Глава 8. Законы постоянного тока

Характеристики электрического тока и электрической цепи.
Закон Ома для участка цепи и его следствия
(окончание)

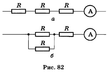
795(786). Во сколько раз изменятся показания амперметра, если от схемы, приведенной на рисунке 82, а, перейти к схеме, показанной на рисунке 82, б? Напряжение, поданное на концы цепи, остается прежним.

    Рис. 82

796(787). Три одинаковые лампы соединены по схеме, приведенной на рисунке 83. Как будут гореть лампы при включении их в сеть с напряжением, на которое рассчитана каждая лампа? Как будет изменяться накал каждой из ламп, если эти лампы по одной поочередно: а) выключать; б) закорачивать? При возможности проверить ответ на опыте.

    Рис. 83

797(788). К цепи, показанной на рисунке 83, подведено напряжение 90 В. Сопротивление лампы Н2 равно сопротивлению лампы Н1, а сопротивление лампы НЗ в 4 раза больше сопротивления лампы Н1. Сила тока, потребляемая от источника, равна 0,5 А. Найти сопротивление каждой лампы, напряжение на лампах Н1 и НЗ и силу тока в них.

798(789). Резисторы сопротивлениями R1 = 1 Ом, R2 = 2 Ом, R3 = 3 Ом, R4 = 4 Ом (рис. 84) подключены к источнику тока в точках: а) АВ; б) АС; в) AD; г) ВС; д) BD; е) CD. Найти общее сопротивление цепи при каждом способе включения.

    Рис. 84

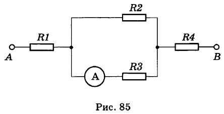
799(790). Найти силу токов и напряжения в цепи (рис. 85), если амперметр показывает 2 А, а сопротивление резисторов R1 = 2 Ом, R2 = 10 Ом, R3 = 15 Ом, R4 = 4 Ом.

    Рис. 85

800(н). В цепь (рис. 86) подано напряжение 100 В. Сопротивление каждого резистора равно 21 Ом. Найти общее сопротивление цепи, а также распределение токов и напряжений.

    Рис. 86

801*(792). Имеются источник тока напряжением 6 В, реостат сопротивлением 30 Ом и две лампочки, на которых написано: 3,5 В, 0,35 А и 2,5 В, 0,5 А. Как собрать цепь, чтобы лампочки работали в нормальном режиме?

<<< К началу      Ответы >>>

 

 

???????@Mail.ru