Главная >> Задачник по физике 10-11 класс. Рымкевич

Глава 11. Электромагнитная индукция

Электромагнитная индукция. ЭДС индукции. Самоиндукция.
Индуктивность. Энергия магнитного поля тока
(продолжение)

917(907). Если клеммы двух демонстрационных гальванометров соединить проводами и затем покачиванием одного из приборов вызвать колебание его стрелки, то и у другого прибора стрелка тоже начнет колебаться. Объяснить опыт и при возможности проверить.

918(908). Почему колебания стрелки компаса быстрее затухают, если корпус прибора латунный, и медленнее, если корпус прибора пластмассовый?

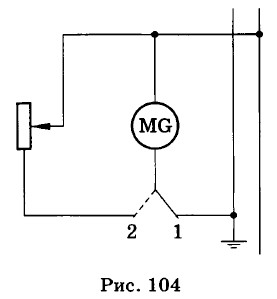
919(909). Объяснить принцип торможения трамвая, когда водитель, отключив двигатель от контактной сети (рис. 104), переводит его в режим генератора (ключ переводится из положения 1 в положение 2). Как зависит ускорение (быстрота торможения) трамвая: а) от нагрузки (сопротивления резистора) при данной скорости движения трамвая; б) от скорости трамвая при данной нагрузке?

    Рис. 104

920(910). По какому закону должен изменяться магнитный поток в зависимости от времени, чтобы ЭДС индукции, возникающая в контуре, оставалась постоянной?

9211(911). За 5 мс магнитный поток, пронизывающий контур, убывает с 9 до 4 мВб. Найти ЭДС индукции в контуре.

    1 В этой и следующих задачах считать, что магнитный поток изменяется в зависимости от времени по линейному закону.

922(912). Найти скорость изменения магнитного потока в соленоиде из 2000 витков при возбуждении в нем ЭДС индукции 120 В.

923(913). Сколько витков должна содержать катушка с площадью поперечного сечения 50 см2, чтобы при изменении магнитной индукции от 0,2 до 0,3 Тл в течение 4 мс в ней возбуждалась ЭДС 10 В?

924(914). Внутри витка радиусом 5 см магнитный поток изменился на 18,6 мВб за 5,9 мс. Найти напряженность вихревого электрического поля в витке.

925(915). Какой заряд q пройдет через поперечное сечение витка, сопротивление которого R = 0,03 Ом, при уменьшении магнитного потока внутри витка на ΔФ =12 мВб?

926(916). В магнитное поле индукцией В = 0,1 Тл помещен контур, выполненный в форме кругового витка радиусом R = 3,4 см. Виток сделан из медной проволоки, площадь поперечного сечения которой S = 1 мм2. Нормаль к плоскости витка совпадает с линиями индукции поля. Какой заряд пройдет через поперечное сечение витка при исчезновении поля?

927(917). В витке, выполненном из алюминиевого провода длиной 10 см и площадью поперечного сечения 1,4 мм2, скорость изменения магнитного потока 10 мВб/c. Найти силу индукционного тока.

928(918). Найти ЭДС индукции в проводнике с длиной активной части 0,25 м, перемещающемся в однородном магнитном поле индукцией 8 мТл со скоростью 5 м/с под углом 30° к вектору магнитной индукции.

<<< К началу      Окончание >>>

 

 

???????@Mail.ru