Главная >> Машиностроительное черчение. Инженерная графика. Чекмарев

Оформление чертежей

Основные надписи на конструкторских документах

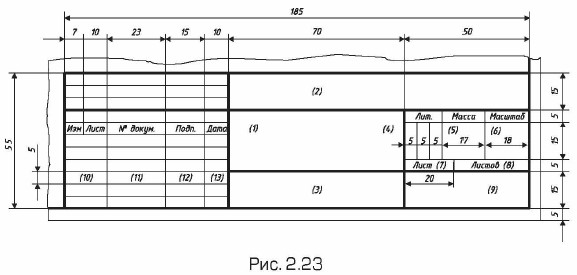
На всех конструкторских документах в правом нижнем углу располагают основную надпись (рис. 2.23). На листах формата А4 основные надписи располагают вдоль короткой стороны листа.

Основные надписи

Рекомендуется следующее заполнение граф основной надписи в условиях учебного процесса (сохранено стандартное обозначении граф).

    Графа 1 — наименование детали или сборочной единицы.

    Графа 2 — обозначение документа по принятой в институте (университете) системе.

    Графа 3 — обозначение материала детали (заполняют только на чертежах деталей).

    Графа 4 — не заполнять.

    Графа 5 — масса изделия.

    Графа 6 — масштаб.

    Графа 7 — порядковый номер листа (на документах, состоящих из одного листа, графу не заполняют).

    Графа 8 — общее количество листов документа (графу заполняют только на первом листе документа).

    Графа 9 — наименование учебного заведения и номер группы.

    Графа 10 — характер работы, выполняемой лицом, подписывающим документ, например:

      Разработал ... (студент)

      Проверил ... (преподаватель)

    Графа 11 — четкое написание фамилий лиц, подписавших документ.

    Графа 12 — подписи лиц, фамилии которых указаны в графе 11.

    Графа 13 — дата подписания документа.

Расположение надписей на поле чертежа

Надписи, цифровые и буквенные, располагают, как правило, горизонтально и выполняют четким шрифтом. Размещают надписи на поле чертежа обычно над основной надписью. Надписи внутри контура проекций (за исключением размерных чисел) помещают только в случае крайней необходимости. Если по необходимости надпись пересекает линию чертежа, то линию в этом месте прерывают. Если надпись подчеркивают линией или пишут вдоль нее, то между линией и надписью оставляют просвет около 1 мм.

В табличных документах (спецификации, ведомости, основные надписи и т.п.) надписи располагают примерно в середине между линиями.

Следующий параграф >>>

 

 

???????@Mail.ru