Главная >> Машиностроительное черчение. Инженерная графика. Чекмарев

Элементы геометрии деталей

Геометрические основы конструкции (окончание)

Рассмотрим примеры заданий (см. рис. 4.12, а, 4.13, а, 4.14, а, 4.15, а, 4.16, а, 4.17, а), выдаваемых для самостоятельной работы студентам в МГТУ им. Н.Э. Баумана [23]. Задание содержит обычно шесть задач, расположенных в порядке возрастания трудности. Каждая задача имеет свою специфику и свой круг вопросов для изучения и отработки. Размеры нанесены только на выполненных заданиях.

Работа над каждой задачей складывается из следующих этапов:

    1) прочитать чертеж-задание, т.е. понять, из каких геометрических форм составлена заданная фигура, какие размеры определяют каждый из ее элементов;

    2) вычертить два заданных изображения фигуры по указанным размерам и построить третье изображение;

    3) для последних трех задач построить изображения сквозных призматических отверстий;

    4) выполнить необходимые разрезы для выявления внутренних полостей фигуры, предварительно проработав соответствующие разделы ГОСТ 2.305—68.

В содержании задачи 1 (рис. 4.12, а) можно выделить три центральных момента: а) построение вида слева фигуры, ограниченной простейшими поверхностями — плоскостями, а также поверхностями прямых круговых цилиндров; б) построение линий пересечения плоскостей, из которых хотя бы одна занимает проецирующее положение, и пересечение цилиндра с плоскостью, параллельной его оси; в) выполнение местного разреза.

Выполненная задача показана на рис. 4.12, б. Одно из двух отверстий показано местным разрезом. Местный разрез выделен на главном виде сплошной волнистой линией.

Построение вида фигуры

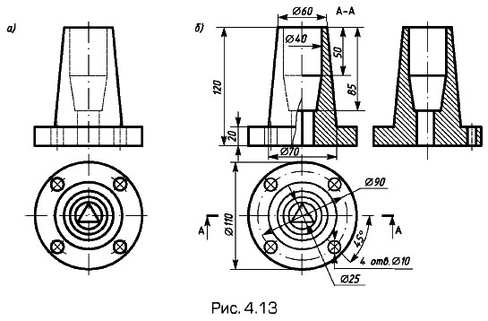
В задаче 2 (рис. 4.13, а, б) построение вида слева для более сложной фигуры, составленной из тех же простейших поверхностей с наличием внутренних полостей и сквозных отверстий. Линии пересечения представляют простейшие случаи. Задача требует выполнения простых разрезов, в том числе и для отверстий, расположенных по окружности на круглом фланце. Это отверстие (справа) переносится в секущую плоскость A — A мысленно (условно) с расположением оси на своем диаметре ∅90. Секущая плоскость A — A обозначена в связи с несимметричностью детали относительно ее.

Построение вида слева для более сложной фигуры

В данном случае и далее (см. рис. 4.14, 4.15, 4.16, 4.17) сохранены штриховые линии на видах, хотя выполненные разрезы вполне позволяют представить (прочитать) форму деталей. Они сохранены только в учебных целях. Отверстия ∅10 на круглом фланце указаны лишь условно осевой линией на главном виде.

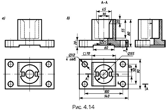
В задаче 3 (рис. 4.14, а, б) построение вида слева для фигуры, приближенной к реальным техническим деталям, где предусмотрено наличие прямоугольного фланца с отверстиями, вынесенными из плоскости симметрии фигуры. Обязательными элементами конструкции фигуры являются тонкие стенки, перегородки, ребра жесткости. Линии пересечения — простейшие случаи. Разрезы — простые и сложные (ступенчатые). Здесь еще рассматривается применение условностей изображения ребер жесткости в разрезе.

построение вида слева для фигуры, приближенной к реальным техническим деталям

В этом случае применен ступенчатый размер A — A, который позволил выявить сквозной характер одного из четырех отверстий ∅12. Тонкое ребро толщиной 10 мм на главном виде в разрезе показано незаштрихованным.

Также нерассеченными при продольном разрезе показывают такие детали, как винты, заклепки, шарики, шпонки, непустотелые валы, рукоятки.

Особенность задачи 4 (рис. 4.15, а, б) и последующих — наличие призматического отверстия, которое следует вычертить в исходной фигуре. Основа решения этой задачи — построение линий пересечения поверхностей исходной фигуры с гранями призматического отверстия и формирование его внутренней полости. Исходные фигуры задачи, как правило, многогранники или комбинации многогранников с прямым круговым цилиндром или конусом. Задачи составлены таким образом, что все линии пересечения поверхностей — прямые. Выполнение разрезов, выбор положения секущих плоскостей диктуются формой и положением призматического отверстия.

Наличие призматического отверстия

Цель и содержание задачи 5 (рис. 4.16, а, б) аналогичны задаче 4. Но 5-я усложнена наличием сквозной внутренней полости в исходной фигуре. Поверхности сквозного призматического окна пересекают как внешние, так и внутренние поверхности исходной фигуры, что определяет все этапы решения задачи.

Построенные на компьютере призма и пирамида с окнами показаны на рис. 4.16, в, г.

Сквозной внутренней полости в исходной фигуре

Сквозной внутренней полости в исходной фигуре (окончание)

Цель задачи 6 (рис. 4.17, а, б) — изучить правила построения изображений поверхностей сферы и линий, ей принадлежащих. Исходная фигура — полый шар с отверстиями призматической, цилиндрической или конической формы. Грани призматических отверстий — плоскости, параллельные какой-либо плоскости проекций, оси цилиндрических или конических отверстий проходят через центр сферы. Основное содержание этой задачи — построение линий пересечения внешней и внутренней сфер с поверхностями отверстий, формирование полостей этих отверстий, выполнение необходимых разрезов.

Построенная на компьютере сфера с вертикальным отверстием и горизонтальным окном показана на рис. 4.17, в.

Полый шар с отверстиями

Полый шар с отверстиями (окончание)

Нанесение размеров

Всякую деталь или изделие будут изготавливать по размерам, численные значения которых указаны на чертеже. Единые правила нанесения размеров на чертежах устанавливает ГОСТ 2.307—68. Для каждой фигуры задания указывают размеры простейших геометрических тел, из которых они состоят, и размеры их взаимного расположения. К простейшим геометрическим телам относятся призмы, пирамиды, прямые круговые цилиндры и конусы, сферы. Для задания каждого простого геометрического тела необходимо определенное количество размеров. Размеры призмы и пирамиды определяют размеры фигуры основания и высоты, прямых круговых цилиндров и конусов — размеры окружности основания и высоты. Размеры сферы определяет ее радиус (или диаметр).

Размеры, относящиеся к наружным формам предмета, рекомендовано наносить на соответствующих видах, а внутренних — на разрезах. Предпочтительно наносить размеры вне контура изображений.

<<< К началу параграфа                       Следующий параграф >>>

 

 

???????@Mail.ru