Главная >> Машиностроительное черчение. Инженерная графика. Чекмарев

Элементы геометрии деталей

Построение линий пересечения и перехода (окончание)

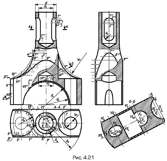
Другим примером наличия линий пересечения и перехода служит конструкция детали (головки) шатуна (рис. 4.21). В данном случае имеются линии пересечения цилиндров, цилиндра с плоскостью, тора с цилиндром, тора с плоскостью. Строится натуральная величина наклонного сечения с определением относительного положения отдельных элементов, указанных на поверхности тела.

Конструкция детали (головки) шатуна

Для построения проекций головки шатуна необходимо найти:

    1) линии пересечения цилиндров диаметров d и d1 с цилиндрами диаметра d2 и линии пересечения этих же цилиндров профильно-проецирующими плоскостями (отверстие для клина);

    2) линию пересечения цилиндров с диаметрами d3 и d4;

    3) линии пересечения цилиндров с диаметрами d4 и d5;

    4) линии пересечения цилиндров диаметра d6 с тором диаметра образующей окружности d7;

    5) линии пересечения тора с плоскостями, касательными к цилиндру диаметра d6,

    6) линии пересечения тора фронтальными плоскостями;

    7) линии пересечения цилиндра диаметра d6 с фронтальными плоскостями.

Поверхность, ограниченная двумя цилиндрами диаметра d2 и двумя профильно-проецирующими плоскостями, пересекает цилиндр диаметра d по двум одинаковым замкнутым линиям, а цилиндр диаметра d1 — по двум другим одинаковым замкнутым линиям. Горизонтальные проекции этих линий пересечения совпадают с горизонтальными проекциями цилиндров диаметров d и d1 так как эти цилиндры являются горизонтально-проецирующими поверхностями. Профильные проекции линий пересечения проецируются в две дуги окружности диаметра d2 и прямые линии, касательные к ним, так как эти линии пересечения лежат в профильно-проецирующей поверхности.

Фронтальные проекции 1", 1"1 точек находят обычным проецированием, а проекцию 2" точки находят на пересечении вертикальной линии связи 2'2" с горизонтальной линией связи 2"'2".

Для нахождения промежуточной точки 3 необходимо на горизонтальной проекции отложить отрезок V'α3'α = 3'"O'" и через 3'α провести линию, параллельную горизонтальной оси симметрии тела, до пересечения с горизонтальными проекциями цилиндров диаметров d и d1 Точки пересечения определяют горизонтальные проекции точек. Фронтальные проекции этих точек находят на пересечении соответствующих линий связи.

Фронтальная проекция линии пересечения цилиндров диаметров d3 и d4 совпадает с фронтальной проекцией цилиндра диаметра d4, так как этот цилиндр является фронтально-проецирующей поверхностью, а горизонтальная проекция этой линии пересечения совпадает с горизонтальной проекцией цилиндра диаметра d3, поскольку он является горизонтально-проецирующей поверхностью. Профильную проекцию этой линии пересечения находят обычным проецированием.

Фронтальная проекция линии пересечения цилиндров диаметров d4 и d5 совпадает с фронтальной проекцией цилиндрической поверхности диаметра d4, так как эта поверхность является фронтально-проецирующей. Горизонтальная проекция этой линии пересечения совпадает с горизонтальной проекцией цилиндра диаметра d5, поскольку он является горизонтально-проецирующей поверхностью. Профильную проекцию этой линии пересечения находят обычным проецированием.

Проекции характерной точки 7, принадлежащей линии пересечения цилиндра диаметра d6 тором, находят обычным проецированием.

Для построения проекций других точек, принадлежащих линии пересечения тора с цилиндрами диаметра d6, проводят целый ряд вспомогательных секущих плоскостей. Так, например, для построения проекций точки 8 проводят секущую плоскость α (α'). Найденным радиусом Rα проводят на горизонтальной проекции дугу окружности до пересечения с окружностью диаметра d6 и отмечают 8'. Фронтальную проекцию 8" точки находят на пересечении вертикальной линии связи 8'8" с линией сечения α". Профильную проекцию 8"' этой точки находят, отложив на профильной проекции по горизонтальной линии связи 8"'8" от оси симметрии тела расстояние от точки 8' до горизонтальной оси симметрии тела. Аналогично строят проекции остальных точек. При помощи горизонтальных секущих плоскостей также находят проекции точек, принадлежащих линии пересечения тора с фронтальными плоскостями. Для примера на чертеже при помощи плоскости β(β") найдены точки 10 и 11. Проекции точки 9, принадлежащей линии сечения тора с фронтальной плоскостью, находят обычным проецированием.

Для построения натуральной величины фигуры сечения плоскостью Б — Б проводят параллельно этой плоскости прямую а , на которой отмечают точку Ia. В этой точке восставляют перпендикуляр, на котором по обе стороны от прямой а откладывают отрезки IaI0 = I'aI'. От точки Ia по прямой а откладывают отрезок IaIIa =I"II". В точке IIa восставляют перпендикуляр к прямой а и откладывают на нем отрезки IIaII0 = II'aII'. Точки IIa0 находят аналогично. От точки IIa по прямой а откладывают отрезок IIaIII0 = II"III" и отмечают точку III0. От точки III0 по прямой а откладывают отрезок III0IV0 = III"IV" и отмечают точки IV0. От точки IV0 по прямой а откладывают отрезок IV0Va = IV"V". Аналогично находят точки VIа, VIIa, VIII0, IХa, X0, XIa, XII0. Точки V0, VIа0, VI0, IX0 и XI0 находят аналогично построениям предыдущих точек, принадлежащих фигуре сечения. Полученные точки соответственно соединяют прямыми и кривыми линиями, которые являются линиями сечения различных элементов тела плоскостью Б — Б.

Если даны фронтальные проекции F", K", S" и T" точек, лежащих на поверхности тела, и требуется найти горизонтальные проекции этих точек, то для точек F, K и Т горизонтальные проекции находят непосредственным проецированием, а проекцию S' точки находят при помощи уже проведенной горизонтальной секущей плоскости α (α').

Для определения относительного положения точек F, K, S и Т, взятых на поверхности тела, при данных K", F", S" и T" — фронтальных проекциях этих точек — необходимо:

    а) установить, что точка K расположена на поверхности цилиндра диаметра d8, точка F — на передней фронтальной торцовой плоскости, точка S — на тороидальной поверхности и точка Т — на цилиндрической поверхности диаметра d1.

    б) найти горизонтальные проекции F', K', T' и S' этих точек;

    в) по горизонтальным проекциям этих точек установить, что точка F расположена дальше от плоскости π2, чем другие данные точки, а точка Т — ближе всех других данных точек к плоскости π2. По фронтальным проекциям этих точек видно, что точка Т удалена от плоскости π1 на большее расстояние, чем другие данные точки.

<<< К началу параграфа                       Следующий параграф >>>

 

 

???????@Mail.ru