Главная >> Машиностроительное черчение. Инженерная графика. Чекмарев

Изображения. Надписи. Обозначения

Разрезы

Разрезы разделяют в зависимости от положения секущей плоскости на горизонтальные, вертикальные и наклонные; от числа секущих плоскостей — на простые (при одной секущей плоскости) и сложные (при нескольких секущих плоскостях), а также на местные (или частичные) и развернутые.

Простые разрезы

В зависимости от положения секущей плоскости относительно горизонтальной плоскости проекций простые разрезы разделяют:

  • на горизонтальные — секущая плоскость параллельна горизонтальной плоскости проекций (разрез А — А на рис. 5.3);
  • вертикальные — секущая плоскость перпендикулярна горизонтальной плоскости проекций (разрез на рис. 5.4);
  • наклонные — секущая плоскость составляет с горизонтальной плоскостью проекций угол, отличный от прямого или секущая плоскость которого не параллельна ни одной из основных плоскостей проекций (разрез А — А на рис. 5.15).

Наклонные разрезы

Вертикальный разрез называют фронтальным, если секущая плоскость параллельна фронтальной плоскости проекций (см., например, разрез на рис. 5.4), и профильным, если секущая плоскость параллельно профильной плоскости проекций (например, на рис. 5.5).

Фронтальным и профильным разрезам, как правило, придают положение, соответствующее принятому для данного предмета на главном изображении.

Горизонтальные, фронтальные и профильные разрезы могут быть расположены на месте соответствующих основных видов (см. фронтальный разрез на рис. 5.4, горизонтальный разрез на рис. 5.3, профильный разрез на рис. 5.5).

Вертикальный разрез, когда секущая плоскость не параллельна фронтальной или профильной плоскости проекций, а также наклонный разрез должны строиться и располагаться в соответствии с направлением, указанным стрелками на линии сечения. Их допускается располагать в любом месте чертежа.

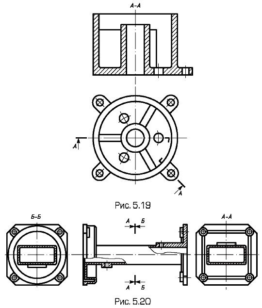
Разрезы называют продольными, если секущие плоскости направлены вдоль длины или высоты предмета (например, продольный разрез пружины на рис. 5.16), и поперечными, если секущие плоскости направлены перпендикулярно длине или высоте предмета. В случае если плоскость разреза направлена вдоль оси или длинной стороны таких элементов, как тонкие стенки типа ребер жесткости, спицы маховиков, шкивов и т.п., то их показывают незаштрихованными (см. рис. 5.19).

Продольные разрезы

Сложные разрезы

В зависимости от положения секущих плоскостей различают ступенчатые и ломаные разрезы.

Ступенчатыми называют разрезы, если секущие плоскости параллельны (например, фронтальный разрез А — А на рис. 5.17 при трех секущих плоскостях).

Ступенчатые разрезы

Ломаными называют разрезы, если секущие плоскости пересекаются (например, разрез А — А на рис. 5.18, а, б).

При ломаных разрезах секущие плоскости условно повертывают до совмещения в одну плоскость (см. разрез А — А на рис. 5.18, а).

Если совмещенные секущие плоскости окажутся параллельными одной из основных плоскостей проекций, то ломаный разрез допускается помещать на месте соответствующего вида (см. разрезы А — А на рис. 5.18).

Ломаные разрезы

При повороте секущей плоскости элементы предмета, расположенные за ней, вычерчивают так, как они проецируются на соответствующую плоскость, до которой производится совмещение (см., например, положение верхнего выступа на рис. 5.18, б). Наряду с рассмотренными ступенчатыми и ломаными разрезами применяют сложные разрезы по типу, приведенному на рис. 5.19.

При одной секущей плоскости могут быть выполнены два разреза с противоположными направлениями взгляда. В этом случае наносят две встречные стрелки, соответствующие направлениям взгляда, располагая их на одной линии (рис. 5.20).

Сложные разрезы

Местный разрез

Разрез, служащий для выявления формы предмета лишь в отдельном, ограниченном месте, называют местным. Местный разрез отделяют от вида сплошной волнистой линией (рис. 5.21, а, б). Эта линия не должна совпадать с какими-либо другими линиями изображения (рис. 5.21, б).

Местный разрез

Следующий параграф >>>

 

 

???????@Mail.ru