Главная >> Машиностроительное черчение. Инженерная графика. Чекмарев

Аксонометрические проекции деталей

Построение аксонометрических изображений деталей

Положение предмета в изометрической и диметрической проекциях выбирают в зависимости от его форм и соотношения размеров. Так, детали, имеющие продолговатую (удлиненную) форму, выполняют обычно в диметрии. При этом наибольший размер располагают вдоль осей х или z, по которым размеры не уменьшаются. В диметрии также предпочтительно выполнять детали, поверхности которых ограничены горизонтально-проецирующими или фронтально-проецирующими плоскостями, расположенными под углом 45° к плоскостям π2 и π1 соответственно, так как эти плоскости в изометрической проекции изображаются в виде вертикальных прямых.

Внутренние формы деталей в аксонометрических проекциях выявляют «вырезом» передней части детали.

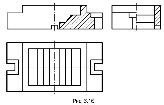
Рациональная последовательность построения аксонометрической проекции по имеющемуся эскизу или чертежу (например, рис. 6.16.) такая:

Рациональная последовательность построения аксонометрической проекции

1) определяют вид аксонометрической проекции для изображения данного предмета (изометрия или диметрия). Деталь, показанную на рис. 6.16, целесообразно изображать в диметрической проекции (рис. 6.17). Выбирают достаточное место для аксонометрического изображения и отмечают начало координат О;

2) проводят аксонометрические оси под установленными углами (см. рис. 6.4 и 6.11) из начала координат и строят (рис. 6.17, а) сечения предмета в плоскостях yOz и xOz. Координаты точек сечений, выполняемых в плоскостях yOz и xOz, берут соответственно на профильном и фронтальном разрезах чертежа;

аксонометрические оси под установленными углами

3) строят (рис. 6.17, б) изображение верхней части детали, видимых внутренних элементов, наружные боковые поверхности;

4) достраивают боковые элементы крепления (см. рис. 6.17, в). Пример рациональной последовательности построения изометрической проекции детали приведен на рис. 6.18, а — в.

Построения изометрической проекции детали

Следующий параграф >>>

 

 

???????@Mail.ru