Главная >> Машиностроительное черчение. Инженерная графика. Чекмарев

Изображение и обозначение элементов деталей

Элементы крепежных деталей

При конструировании крепежных деталей широко используют плоские элементы для поворота детали гаечным ключом или отверткой.

Шлицы

Простейшими из них являются прямые шлицы под отвертку (рис. 7.32). Шлиц имеет ширину b (номинальный размер) и глубину h, определяемые диаметром резьбы винта или шурупа. В современных изделиях широко используются крестообразные шлицы (рис. 7.33).

Шлицы

Концевые лыски цилиндра выполняют на валах, осях и т.п. в виде площадки, параллельной оси, в основном для фиксации детали винтом или планкой от проворачивания.

Для изображения лыски достаточно одной проекции (рис. 7.34). Для вращения детали гаечным ключом лысок делают две (рис. 7.35). Над сечением A — A нанесен размер S2 «под ключ».

Изображения лыски

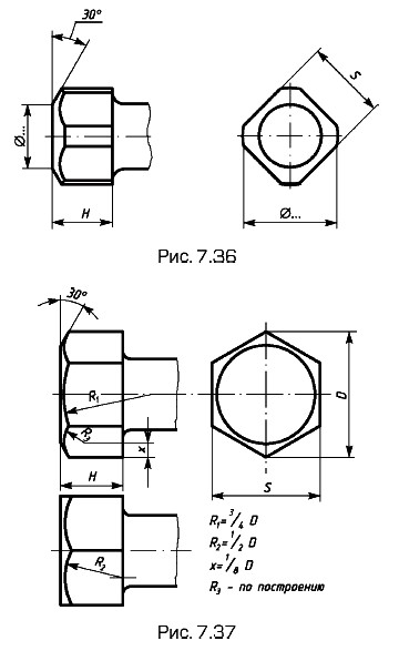
Головки винтов и болтов

Квадратные и шестигранные головки винтов и болтов показаны на рис. 7.36 и 7.37. Форму и размеры квадратной головки изображают на двух проекциях: на плоскости, параллельной оси головки, и на плоскости, перпендикулярной ей. Шестигранные головки изображают на трех проекциях. В обоих случаях линии пересечения конических фасок с гранями (гиперболы) заменяют дугами окружностей (их примерные радиусы даны на чертеже).

Квадратные и шестигранные головки

Головки болтов к станочным Т-образным пазам предназначены для предотвращения выхода болта из паза под действием осевого усилия при его затягивании и для передачи этого усилия опорной поверхностью головки плоскостям паза.

Форму и размеры головок болтов передают два изображения: проекция на плоскость, параллельную оси головки, и проекция на плоскость, перпендикулярную к этой же оси.

Болты к станочным пазам изготавливают в двух исполнениях: с квадратной головкой (рис. 7.38, а) и с круглой головкой с двумя срезанными сегментами (рис. 7.38, б). Головки быстросъемных болтов к станочным пазам изготавливают двух исполнений: со скосами под углом 30° (рис. 7.39, а) и скругленной головкой (рис. 7.39, б). Определяющим размером служит диаметр d стержня болта (или диаметр его резьбы).

Головки болтов к станочным Т-образным пазам

Следующий параграф >>>

 

 

???????@Mail.ru