Главная >> Машиностроительное черчение. Инженерная графика. Чекмарев

Изображение и обозначение резьбы и резьбовых соединений

Основные параметры резьбы и ее изображение (окончание)

Трубная цилиндрическая резьба

Эту резьбу используют для соединений в трубопроводах, цилиндрических резьбовых соединениях. Профиль этой резьбы (рис. 8.6) — равнобедренный треугольник с углом α = 55°, вершины и впадины профиля закруглены, а в соединении между вершинами и впадинами наружной и внутренней резьбы отсутствуют зазоры. Трубная резьба разработана в дюймовой системе (1 дюйм = 1" = 25,4 мм) и имеет мелкий шаг. Шаг трубной резьбы задают косвенным способом: указывают число ниток резьбы, укладывающихся на 1". Это число ниток стандартизовано в пределах от 28 до 11.

Трубная цилиндрическая резьба

Обозначение размера трубной резьбы имеет особенность, которая заключается в том, что размер резьбы задается не наружным диаметром трубы, на котором нарезается резьба, а величиной внутреннего диаметра трубы. Он называется диаметром трубы «в свету» и определяется как условный проходной размер трубы. Объяснение этой условности состоит в том, что конструктивный расчет трубопроводов ведется по условным проходам трубопроводов, арматуры и соединительных частей.

Например, трубная резьба в 1" нарезается снаружи на трубе, которая имеет внутренний диаметр, равный 1" (25,4 мм); размер же наружного диаметра всегда больше диаметра «в свету» на две толщины стенки трубы. Размеры некоторых трубных цилиндрических резьб, установленные ГОСТ 6357—81, приведены, например, в табл. 6.8 «Справочника по машиностроительному черчению».

Трубная коническая резьба

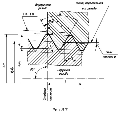
В соединениях топливных, масляных, водяных и воздушных трубопроводов машин широко применяют коническую трубную резьбу, обеспечивающую хорошую герметичность соединений без применения специальных уплотнений. Трубные конические резьбы (рис. 8.7) имеют два варианта профиля резьбы (при исходном профиле в форме равнобедренного треугольника):

  • закругленный профиль с углом профиля α = 60° (размер этой трубной конической резьбы стандартизован ГОСТ 6211-81);
  • дюймовый с углом профиля α = 55° (размеры этой конической дюймовой резьбы установлены ГОСТ 6111-52).

Конусность поверхностей, на которых нарезают резьбу, обычно равна 1:16 (обозначение конусности см. на рис. 8.7 вверху слева). Биссектриса угла профиля перпендикулярна оси резьбы.

Трубная коническая резьба

Диаметральные размеры конических резьб устанавливают в основной плоскости, которая перпендикулярна к оси и отстоит от торца детали с наружной резьбой на расстоянии l, регламентированном стандартами на конические резьбы. В основной плоскости диаметры резьбы равны номинальным диаметрам трубной цилиндрической резьбы.

Резьба трапецеидальная

Профиль резьбы (ГОСТ 24738—81) — равнобочная трапеция с углом профиля 30° между боковыми сторонами (рис. 8.8, а). Стандартизована для диаметров от 10 до 640 мм с шагами от 2 до 48 мм. Для каждого диаметра стандарт предусматривает три различных шага.

Резьба трапецеидальная, резьба упорная

Резьба упорная

Стандартизована для диаметров от 10 до 600 мм с шагами от 2 до 24 мм. (рис. 8.8, б). Для каждого диаметра резьбы предусмотрены три различных шага. Имеет несимметричный профиль и предназначена для ходовых винтов с большой односторонней нагрузкой (тиски, домкраты, прессы и др.).

<<< К началу параграфа                       Следующий параграф >>>

 

 

???????@Mail.ru