Главная >> Машиностроительное черчение. Инженерная графика. Чекмарев

Изображение и обозначение резьбы и резьбовых соединений

Резьбовые соединения и их детали (окончание)

Шпилечное соединение

Если в одной из соединяемых деталей невозможно выполнить сквозное отверстие, применяют шпилечное соединение (рис. 8.32). В детали, в которую потом ввинчивают шпильку, сверлят отверстие длиной L:

L = l1 + 2p + a,

где l1 + 2p — длина резьбы полного профиля, равная сумме длин ввинчиваемого конца шпильки l1 и запаса резьбы в отверстии, равного двум шагам р резьбы шпильки; а — размер недореза, включающий длину сбега резьбы х и длину гладкого цилиндрического отверстия (по ГОСТ 10549—80).

Шпилечное соединение

В шпилечном соединении шпилька ввинчивается в деталь на всю длину резьбового конца, включая и сбег резьбы. Длину l шпильки (без ввинчиваемого конца) определяют по формуле

l ≥ H + S + m + a,

где Н — толщина скрепляемой детали, мм.

Соединения частей трубопроводов (фитинги)

Соединительные части трубопроводов предназначены для соединения водо- и газопроводных труб с применением уплотнения в системах отопления, водопроводных, газопроводных и других в условиях неагрессивных сред (вода, насыщенный водяной пар, горючий газ и др.). Температура проводимой среды при этом не должна быть выше 175°С при условном давлении (1—1,5 МПа) (~10...16 кгс/см2).

Соединения частей трубопроводов

Используемые при этом основные детали показаны на рис. 8.33. Они стандартизованы в диапазоне условных проходов от 1/4 до 2 1/2 дюйма. Угольники (а) изготавливают с углом 90 и 45° с внутренней резьбой и с наружной и внутренней резьбой. Тройники изготавливают прямые (с одинаковой резьбой) и переходные с одним или двумя (б) переходами. Кресты (крестовины) также выпускают прямыми, переходными с одним или двумя (в) переходами. Муфты изготавливают короткими, длинными, переходными (в) и компенсирующими (г). Футорки (е) и ниппель двойной (ж) выпускают практически с одного конструктивного исполнения. Соединение трубы с фитингом (угольником) приведено на рис. 8.34.

Соединение трубы с фитингом

Соединения с накидными гайками

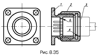
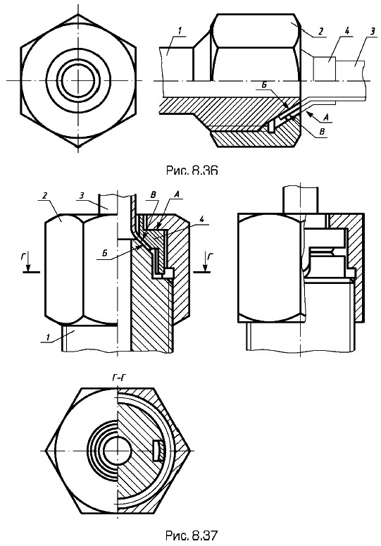
Варианты конструкций соединений с накидными гайками приведены на рис. 8.35, 8.36. В конструкции на рис. 8.35 штекерный разъем 3 закреплен в корпусе 1 накидной гайкой 2. Затягивание гайки осуществляется вручную, для чего на наружной цилиндрической поверхности гайки выполняют сетчатые рифления. В конструкции на рис. 8.36 трубопровод 3 из пластичного материала, например медный, присоединен к штуцеру 1 с помощью накидной гайки 2. Контактные поверхности А, Б, В — конические, что обеспечивает хорошую герметичность соединения. Между трубкой 3 и вращающейся при затягивании гайкой 2 прокладывают ниппель 4 для предохранения от повреждения поверхности трубки из более прочного материала, чем материал трубки. В конструкции на рис. 8.37 приведена разновидность разборного вакуумного соединения медной трубки (штенгеля) 3 с корпусом 1. Такая конструкция имеет очень высокую герметичность (вакуумную плотность) и применяется для подсоединения электровакуумных приборов к вакуумной системе при откачке газов из внутренней полости приборов. В этой конструкции гайка 2 при затягивании создает на поверхности А шайбы 4 большой крутящий момент трения. Для предотвращения проворота шайбы 4, трубки 3 и соединенного с ней прибора относительно корпуса 1 на шайбе 4 выполняют два выступа, которые входят в пазы на корпусе 1. Их форма видна на виде слева, на котором в разрезе показана только гайка.

Варианты конструкций соединений с накидными гайками

Разновидность разборного вакуумного соединения медной трубки

Во всех рассмотренных конструкциях накидная гайка 2, вращаясь по резьбе относительно неподвижной детали 1, перемещается вдоль оси. При этом движении она поверхностью А прижимает закрепленную деталь 3 к поверхности Б неподвижной детали 1. Этот прижим в случае применения промежуточной детали 4 (см. рис. 8.35, 8.36) осуществляется через промежуточную контактную поверхность В.

В изображениях соединений на рис. 8.34, 8.35 применена допускаемая стандартом условность: присоединяемые детали 3, 4, не входящие в конструкцию данного устройства с накидной гайкой, показаны сплошной тонкой линией, применяемой для изображения пограничных деталей («обстановка»).

<<< К началу параграфа                       Следующий параграф >>>

 

 

???????@Mail.ru