Главная >> Машиностроительное черчение. Инженерная графика. Чекмарев

Изображение соединений деталей

Изображение подшипников

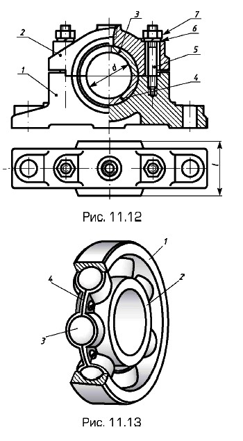
Подшипники (или опоры) служат для поддержания шеек вращающихся валов или осей различных передач. Различают подшипники скольжения и подшипники качения. Типовой подшипник скольжения состоит из корпуса, вкладышей и смазывающих устройств (рис. 11.12). Подшипники качения — это стандартные узлы, состоящие из внутреннего 2 и наружного 1 колец, между которыми располагаются тела качения 3 — шарики или ролики. Тела качения удерживаются на определенном расстоянии друг от друга специальной обоймой 4 — сепаратором (рис. 11.13).

Стандартные подшипники скольжения (см. рис. 11.12) состоят из корпуса 1, крышки 2, вкладышей 3 и 4, шпилек 5, шайб 6 и гаек 7. Нестандартные подшипники скольжения могут состоять только из двух вкладышей, размещаемых в опорах корпуса, например двигателя автомобиля. Подшипники скольжения требуют специальную систему смазки.

Подшипники

Подшипники качения воспринимают различные нагрузки — от радиальной до осевой, изготавливаются в габаритах от нескольких миллиметров до нескольких метров в диаметре. Их конструкции достаточно разнообразны (рис. 11.14) и определяются воспринимаемой нагрузкой: радиальные (а, б), радиально-упорные (в), упорные (д). Меньшие габариты имеют игольчатые (г) подшипники. Производство подшипников качения особо точное. Их выпускают сверхлегкой, особо легкой, легкой, средней и тяжелой серии по диаметру, обозначаемой одной из цифр 0, 8, 9, 1, 7, 2, 3, 4 и 5 в порядке увеличения размера наружного диаметра подшипника при одинаковом внутреннем диаметр, и узкой, нормальной, широкой или особо широкой серии по ширине (высоте), обозначаемой одной из цифр 7, 8, 9, 0, 1, 2, 3, 4, 5 и 6 в порядке увеличения размера ширины или высоты.

Подшипники качения

На рис. 11.15 показаны однорядные радиальные шариковые подшипники для вала d = 45 мм различных серий по наружному диаметру (слева направо) — особо легкой серии, легкой, средней и тяжелой — и узких по ширине, выпускаемых по ГОСТ 8338—75.

Однорядные радиальные шариковые подшипники

Окончание параграфа >>>

 

 

???????@Mail.ru