Главная >> Машиностроительное черчение. Инженерная графика. Чекмарев

Изображение соединений деталей

Изображение сварных соединений (окончание)

Условные обозначения швов сварных соединений

Структура условного обозначения стандартного шва или сварной точки приведена на рис. 11.30, а, нестандартного — на рис. 11.30, б.

Структура условного обозначения стандартного шва или сварной точки

На месте указанных прямоугольников записывают следующие данные:

    1 — обозначение стандарта на типы и конструктивные элементы швов;
    2 — буквенно-цифровое обозначение шва по стандарту;
    3 — условное обозначение способа сварки по стандарту;
    4 — знак 6 (по рис. 11.31) и размер катета согласно стандарту;
    5 — размеры и знаки, указанные ниже;
    6 — вспомогательные знаки (по рис. 11.31);
    7 — вспомогательные знаки 7 или 8 (по рис. 11.31).

Условные обозначения швов сварных соединений

Вспомогательные знаки в условных обозначениях сварных соединений (рис. 11.31): 1 — усиление шва снять; 2 — наплывы и неровности шва обработать с плавным переходом к основному металлу; 3 — шов прерывистый или точечный с цепным расположением, угол наклона линии 60°; 4 — шов прерывистый или точечный с шахматным расположением; 5 — шов по незамкнутой линии (знак применяют, если расположение шва ясно из чертежа); 6 — знак в прямоугольнике 4 (см. рис. 11.30) перед размером катета по стандарту; 7 — шов по замкнутой линии (диаметр знака 3...5 мм); 8 — шов выполнить при монтаже изделия, т.е. при установке его по монтажному чертежу на месте применения.

На месте прямоугольника 5 записывают следующие данные:

  • для прерывистого шва — размер длины провариваемого участка, знак 3 или 4 (по рис. 11.31) и размер шага;
  • для одиночной сварочной точки — размер расчетного диаметра точки;
  • для шва контактной точечной сварки или электрозаклепочного — размер расчетного диаметра точки или электрозаклепки, знак 3 или 4 (по рис. 11.31) и размер шага;
  • для шва контактной шовной сварки — размер расчетной ширины шва;
  • для прерывистого шва контактной шовной сварки — размер расчетной ширины шва, знак умножения, размер длины провариваемого участка, знак 3 (по рис. 11.31) и размер шага.

Для нестандартных швов способ сварки указывают в технических требованиях или в таблице швов.

Вспомогательные знаки (рис. 11.31) выполняют сплошными тонкими линиями, их высота одинакова с высотой цифр, входящих в обозначение шва.

Условное обозначение (УО) шва наносят на полке линии-выноски для шва с лицевой стороны и под полкой для шва с обратной стороны (рис. 11.32). Обозначение шероховатости механически обработанной поверхности шва наносят на полке или под полкой линии-выноски после условного обозначения шва (см. рис. 11.32, б, в), или указывают в таблице швов, или приводят в технических требованиях чертежа, например Параметр шероховатости сварных швов...

Условное обозначение шва наносят на полке линии-выноски для шва

Сварочные материалы, указывают на чертеже в технических требованиях или таблице швов; их можно и не указывать.

При наличии на чертеже одинаковых швов обозначение наносят у одного из швов, а от изображений остальных швов этого типа проводят линии-выноски с полками. Всем одинаковым швам присваивают один порядковый номер, который наносят:

  • на линии-выноске, имеющей полку с обозначением шва (рис. 11.33);
  • на полке (под полкой) линии-выноски, проведенной от изображения шва, не имеющего обозначения, с лицевой (обратной) стороны (рис. 11.33, б).

Количество одинаковых швов можно указывать на линии-выноске, имеющей полку с обозначением (рис. 11.33, а).

Количество одинаковых швов можно указывать на линии-выноске

Упрощение обозначений швов сварных соединений

При наличии на чертеже швов, выполняемых по одному и тому же стандарту, стандарт приводят в технических требованиях по типу Сварные швы... по... или в таблице. Если все швы одинаковы и изображены с одной стороны, то порядковый номер им не присваивают, а швы отмечают линиями-выносками без полок (рис. 11.34), обозначение шва указывают в технических требованиях.

Если все швы одинаковы и изображены с одной стороны, то порядковый номер им не присваивают, а швы отмечают линиями-выносками без полок

На чертеже симметричного изделия при наличии на изображении оси симметрии можно отмечать линиями-выносками и обозначать швы только на одной из симметричных частей изображения изделия. На чертеже изделия, в котором имеются одинаковые составные части, привариваемые одинаковыми швами, эти швы можно отмечать линиями-выносками и обозначать только у одного из изображений одинаковых частей (предпочтительно у изображения, от которого проведена линия-выноска с номером позиции).

Можно не отмечать на чертеже швы линиями-выносками, а приводить указания по сварке записью в технических требованиях, эта запись однозначно определяет место сварки, способы сварки, типы швов сварных соединений, размеры их конструктивных элементов в поперечном сечении шва и расположение швов.

Одинаковые требования, предъявляемые ко всем швам или группе швов, приводят один раз — в технических требованиях или в таблице швов.

Типы швов, их конструктивные элементы и размеры стандартизованы. Наряду со сваркой соединений из стали и сплавов на железоникелевой и никелевой основе дуговой сваркой выполняют соединения из медных и алюминиевых сплавов под флюсом, в углекислом газе, инертных газах, покрытым электродом.

Кроме указанных соединений контактной точечной, рельефной и шовной сваркой выполняют также соединения титановых, алюминиевых, магниевых и медных сплавов. Подобные типы сварных соединений получают при сварке нагретым газом с присадочным прутком или экструзионной сварке пропилена, полипропилена и винипласта.

В учебном процессе по курсу инженерной графики обозначения стандартных швов упрощают и наносят, например, только номер стандарта, буквенно-цифровое обозначение шва, размер катета его поперечного сечения и знак О, если требуется.

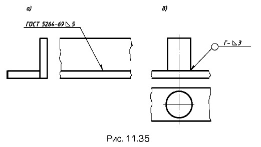
Примеры сварных швов на рис. 11.35: а — шов углового соединения, без скоса кромки, односторонний, выполняемый электродуговой сваркой с катетом шва 5 мм; б — сварное соединение цилиндрической детали с пластиной. В этом соединении шов односторонний без скоса кромок выполнен по замкнутому контуру (знак О), газовой сваркой (буква Г), с катетом шва 3 мм. ГОСТ 5264—80 определяет типы швов сварных соединений деталей из углеродистых сталей, выполненных ручной электродуговой сваркой.

Пример конструктивных элементов соединений контактной шовной сваркой

Пример конструктивных элементов соединений контактной шовной сваркой приведен на рис. 11.36. На нем указаны: d — расчетный диаметр литого ядра точки или ширина литой зоны шва; h и h1 — величина проплавления; ƒ — перекрытие литых зон шва; В — ширина нахлестки; расстояние u ≥ 0,5B; s и s1 — толщины свариваемых деталей; g и g1 — глубина вмятия не более 1/5 толщины деталей; l ≈ d.

Пример конструктивных элементов соединений

<<< К началу параграфа                       Следующий параграф >>>

 

 

???????@Mail.ru