Главная >> Машиностроительное черчение. Инженерная графика. Чекмарев

Изображение соединений деталей

Изображение клееных соединений

Склеивание как метод получения неразъемных соединений находит большое распространение при соединении металлических материалов, металлических с неметаллическими и др. Применяют различные синтетические клеи, например: БФ-2, БФ-3 и др., карбонильный, ПУ-2, ПК-5 и др.

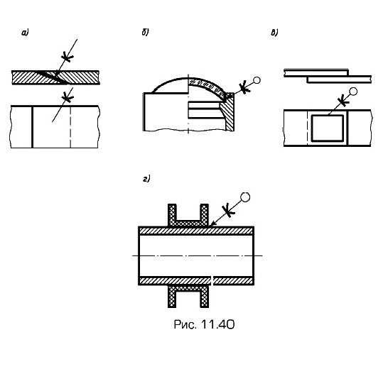
Изображают на чертежах в разрезах и на видах клееные швы, как и паяные, линией толщиной 2s и выносной линией со стрелкой, на которой наносят знак (см. рис. 11.37, б), символизирующий букву K. Полочку от выносной линии используют для обозначения номера пункта технических требований, в котором указывают марки клея и требования к качеству шва.

Изображение клееных соединений

Примеры клееных соединений приведены на рис. 11.40: а — с косым срезом; б, в — по замкнутой линии; г — по цилиндрической поверхности металлической трубки и пластмассового кольца.

Следующий параграф >>>

 

 

???????@Mail.ru