Главная >> Машиностроительное черчение. Инженерная графика. Чекмарев

Изображения. Надписи. Обозначения

Условности и упрощения (окончание)

Пластины, а также элементы деталей (отверстия, фаски, пазы, углубления и т.п.) размером (или разницей в размерах) на чертеже 2 мм и менее изображают с отступлением от масштаба, принятого для всего изображения, в сторону увеличения.

Допускается также изображать с увеличением незначительную конусность или уклон.

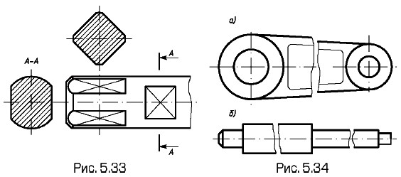
При необходимости выделения на чертеже плоских поверхностей предмета на них проводят диагонали сплошными тонкими линиями. Так, на рис. 5.33 диагоналями отмечены плоские грани под ключ и видимая поверхность одной из двух «лысок» детали.

Длинные предметы (или элементы), имеющие постоянное или закономерно изменяющееся поперечное сечение (валы, цепи, прутки, фасонный прокат и т.п.), допускается изображать с разрывом (рис. 5.34, а, б).

Поперечное сечение

На чертежах предметов со сплошной сеткой, плетенкой, орнаментом, рельефом, рифлениями и т.д. допускается изображать эти элементы частично, с возможным упрощением. Так, например, на рис. 5.35 частично и упрощенно изображено сетчатое рифление на цилиндрической поверхности детали.

Частично и упрощенно изображено сетчатое рифление

Для упрощения чертежей или сокращения количества изображений допускается:

    а) часть предмета, находящегося между наблюдателем и секущей плоскостью, изображать штрихпунктирной утолщенной линией непосредственно на разрезе; такой наложенной проекцией на рис. 5.36 на разрезе А — А показана форма выступа у детали и его расположение;

    б) для показа отверстия в ступицах зубчатых колес, шкивов и т.п., а также для шпоночных пазов вместо полного изображения детали давать лишь контур отверстия (рис. 5.37, а) или паза (рис. 5.37, б);

    в) изображать в разрезе отверстия, расположенные на круглом фланце, когда они не попадают в секущую плоскость (рис. 5.38).

Наряду с рассмотренными в соответствующих стандартах установлены также условности и упрощения, допускаемые в неразъемных соединениях, в чертежах электротехнических и радиотехнических устройств, оптических изделий, зубчатых зацеплений и т.д. Они излагаются ниже в соответствующих главах курса.

Изображать штрихпунктирной утолщенной линией непосредственно на разрезе

Для шпоночных пазов вместо полного изображения детали давать лишь контур отверстия

Рассмотрим применение некоторых из изложенных правил изображения предметов на примерах выполнения чертежей геометрических тел со сквозными отверстиями и простых деталей.

<<< К началу параграфа                       Следующий параграф >>>

 

 

???????@Mail.ru