Главная >> Машиностроительное черчение. Инженерная графика. Чекмарев

Аксонометрические проекции деталей

Технические рисунки (окончание)

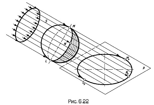
Построение контура собственной тени (линии, отделяющей освещенную часть поверхности от неосвещенной) сводится к построению линии MNL касания лучевой поверхности S с поверхностью предмета (рис. 6.22), а построение контура падающей тени — к построению линии MpNpLp пересечения лучевой поверхности S с плоскостью Р (или с поверхностью какого-либо предмета).

Построение контура собственной тени

Под лучевой поверхностью (или плоскостью) понимается поверхность, обертывающая данное тело, с образующими, проведенными параллельно лучам света.

На рисунке 6.23, а, б, в, г показано построение контуров тени для призмы, пирамиды, цилиндра и конуса. Для этих построений необходимо знать не только направление лучей света, но и направление Sp их вторичных проекций. Построение контура падающей тени сводится к построению точек пересечения лучей света, проведенных через контур предмета, с горизонтальной плоскостью, на которой стоит предмет.

Построение контуров тени для призмы, пирамиды, цилиндра и конуса

Например, точка Аp контура падающей тени призмы построена как точка пересечения луча S со вторичной проекцией Sp этого луча.

Две плоскости Т и Q, касательные к цилиндру, позволяют построить контур собственной тени АВ и контур падающей тени ВpАp. Падающую тень от верхнего основания цилиндра строят по точкам 1, 2 ... .

Для построения контура собственной тени АВ конуса сначала нужно построить падающую тень на плоскость его основания (построить точку Аp), а затем провести касательную АpВp из этой точки к основанию конуса. Точка В = Вp и определяет образующую АВ конуса, которая является контуром собственной тени.

пути лучевой поверхности

Если на пути лучевой поверхности (или плоскости) находится другой предмет или поверхность, то контур падающей тени строят на этом предмете так, как показано на рис. 6.24, где падающая тень построена на плоскости основания призмы и на части цилиндрической поверхности Q. Порядок построения ясен из чертежа.

Светотень можно передавать карандашом, пером (тушью) или отмывкой (разведенной тушью или акварелью). В техническом рисовании обычно пользуются карандашом, выполняя штриховку, тушевку или шраффировку.

Штриховка заключается в покрытии различных частей рисунка штрихами (не пользуясь чертежным инструментом). Желаемого тона добиваются частотой и толщиной штрихов. Длина штрихов не должна быть очень большой, так как длинные штрихи проводить трудно. На рис. 6.25, 6.26 показаны примеры выполнения штриховки на различных поверхностях.

Направление штрихов должно быть согласовано с формой изображаемого предмета (см. рис. 6.25, а, б, в, г), так как штрихи, наложенные «по форме», помогают передавать и воспринимать эту форму.

Примеры выполнения штриховки на различных поверхностях

Тушевка является разновидностью штриховки, когда штрихи накладывают очень близко друг к другу так, что они сливаются. Иногда штрихи растирают пальцем или растушевкой.

Шраффировка является особым видом штриховки, выполненной с помощью чертежных инструментов. Этот способ выполнения светотени наиболее часто применяют в техническом рисунке, несмотря на то что, пользуясь им, невозможно получить плавные переходы от светлого к темному на кривых поверхностях. Примеры шраффировки на различных поверхностях показаны на рис. 6.27, 6.28, 6.29, 6.30, на рис. 6.28 — только аксонометрическое изображение.

Следует заметить, что средством передачи объема нужно пользоваться в технических рисунках осторожно и экономично, не делая такое изображение самоцелью. На рис. 6.28 приведен пример передачи формы предмета без нанесения тени.

Передачи формы предмета без нанесения тени

<<< К началу параграфа                       Следующий параграф >>>

 

 

???????@Mail.ru