Главная >> Машиностроительное черчение. Инженерная графика. Чекмарев

Изображение и обозначение элементов деталей

Изображение фасок, смазочных канавок, надписей, знаков, шкал

Фаски

Фаски предохраняют острые кромки деталей от забоин, что важно для обеспечения сборки деталей. Фаски на внешних элементах конструкции часто важны для удобства эксплуатации. Широко применяемые фаски под углом 45° к поверхности обозначают обычно С х 45°, где С —размер катета фаски. Если фаска расположена под иным углом а, то размеры ее наносят, как показано на рис. 7.43, или указывают угол и один линейный размер (рис. 7.44), или два линейных размера (рис. 7.45).

Фаски

Смазочные канавки

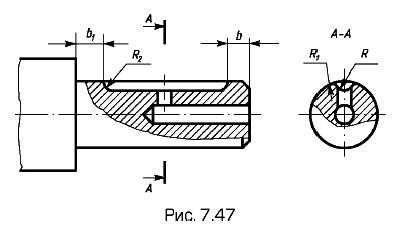
Смазочные канавки выполняют в деталях типа втулок (рис. 7.46) и валов (рис. 7.47) в виде выемок с цилиндрическими поверхностями, образующих при сопряжении соответственно с охватываемой поверхностью вала и с охватывающей поверхностью втулки полости, в которые подается смазка.

Для изображения смазочной канавки необходимы продольный и поперечный разрезы.

Смазочные канавки в деталях типа втулок

Смазочные канавки в деталях типа валов

Длину смазочных канавок определяют размеры втулки или вала и ширина b кольцевых участков, необходимых для перекрытия выхода смазки.

Как правило, смазочные канавки выполняют в сочетании с цилиндрическим отверстием для подвода смазки.

Шрифты

Для нанесения надписей на деталях установлены шрифты, наносимы гравированием, методом плоской печати или другим методом (например, травлением).

Шрифты включают написание знаков русского, латинского и греческого алфавитов; арабских и римских цифр; знаков математических, препинания и символьных. Шрифт, наносимый методом плоской печати, содержит также показатели степени и индексы.

Шрифт в зависимости от начертания разделяют на прямой нормальный полужирный — Пр3 (основной для плоской печати и гравирования); прямой узкий светлый — Пр41; прямой нормальный жирный — Пр5; прямой контурный — ПрК5; наклонный нормальный жирный — Пр/5; наклонный контурный — ПрК/5. Пример выполнения шрифта Пр3 гравированием и основные соотношения его размеров показаны на рис. 7.48: Н — высота шрифта; b — толщина обводки; h — высота строчных знаков; K — высота; Т — ширина площадки; h2 — расстояние от основания площадки до линии шрифта.

Профиль сечения шрифта (рис. 7.49) определяется способом нанесения (углубленного — а, в и выпуклого — б, г; а, б — для b < 1 мм; в, г — для b > 1 мм), пластической или тепловой деформацией, строганием или фрезерованием (концевой или дисковой фрезой). Глубина штриха должна составлять 0,3...0,8 его ширины, а в случае заполнения контрастным или светящимся составом — не менее 0,8 ширины.

Профиль сечения шрифта

Интервалы между буквами, цифрами и знаками в надписи зависят от ширины копировальных планок Т, равной для нормального шрифта от 0,7 до 0,75H. Расстояние между строками не менее 0,5H.

Предельные отклонения размеров букв, цифр и знаков по высоте, а также расстояний между ними в строке не более ±IT16/2.

Видимая невооруженным глазом высота цифр и знаков должна быть не менее 2 мм. Наименьшая технологически допустимая высота шрифта и знаков, выполняемых на серебре, алюминиевых сплавах, нейзильбере и латуни,— 0,4 мм, на стали — 1,0 мм. Шрифт размером менее 2 мм должен рассматриваться через лупу или микроскоп соответствующего увеличения.

Окончание параграфа >>>

 

 

???????@Mail.ru