Главная >> Машиностроительное черчение. Инженерная графика. Чекмарев

Изображение и обозначение резьбы и резьбовых соединений

Основные параметры резьбы и ее изображение

Многие детали машин и приборов имеют резьбу. Поверхность резьбы образует плоский контур при винтовом движении по цилиндрической или конической поверхности. При этом различные участки плоского контура могут образовывать различные соосные винтовые поверхности — прямые (см. рис. 8.8, 8.9), косые (см. рис. 8.10) или иной формы.

Наибольшее распространение получили цилиндрические и конические резьбы, т.е. резьбы, образованные на цилиндрических или конических поверхностях (деталях).

Резьбовое соединение — это соединение деталей с помощью резьбы, обеспечивающее их относительную неподвижность или перемещение одной детали относительно другой. В резьбовом соединении одна из деталей имеет наружную резьбу, другая — внутреннюю.

Наружная резьба — это резьба, образованная на наружной цилиндрической или конической поверхности. В резьбовом соединении наружная резьба является охватываемой поверхностью, а имеющая ее деталь носит название болт (винт и др.).

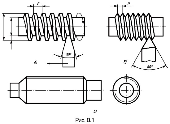
Образование наружной резьбы, например нарезанием резцом, иллюстрирует рис. 8.1. Если резец, равномерно перемещающийся вдоль образующей, углубить в равномерно вращающуюся заготовку, то на ее поверхности образуется винтовая поверхность; вид этой поверхности зависит от формы резца. Например, на рис. 8.1, а резьба имеет трапецеидальный профиль, а на рис. 8.1, б — треугольный профиль.

На чертеже деталей наружную резьбу показывают условно: сплошными основными линиями по наружному диаметру резьбы и сплошными тонкими линиями по внутреннему диаметру — по границе впадин — рис. 8.1, в с обозначениями, рассматриваемыми ниже. На плоскости проекций, перпендикулярной оси резьбы, тонкую линию по границе впадин делают разомкнутой в любом месте на участке около 1/4 окружности, но она не должна начинаться и кончаться у центровой линии.

Образование наружной резьбы

Кроме нарезания резьбовыми резцами на токарно-винторезных станках ее можно нарезать плашками (рис. 8.2), накатывать резьбонакатными роликами или гребенками.

Накатывать резьбонакатными роликами или гребенками

Сбег резьбы

Если в конце резьбы резец плавно отводят от детали, то получается участок неполного профиля в зоне перехода резьбы к гладкой части детали (рис. 8.3). Такой участок называют сбегом резьбы (на рис. 8.3 сбег резьбы на длине L1). В местах перехода от резьбового участка к торцу детали при нарезке резьбы плашкой также может оставаться участок с неполным профилем резьбы (см. рис. 8.2, слева от плашки). Этот участок называют недорезом. Его необходимо учитывать при конструировании соединений.

В тех случаях, когда необходимо плотное прилегание торцов деталей в резьбовом соединении, на одной из деталей делают цилиндрическую проточку (их форма и размеры рассмотрены ниже).

Внутренняя резьба — это резьба, образованная на внутренней цилиндрической или конической поверхности. В резьбовом соединении внутренняя резьба является охватывающей поверхностью.

Внутреннюю резьбу нарезают резцом или с помощью специального резьбонарезного инструмента — метчика (см. рис 8.4, в, г). Нарезание резьбы в сквозных отверстиях сравнительно просто. Более трудным является нарезание резьбы в глухих несквозных отверстиях. Такое отверстие с резьбой называют гнездом.

Последовательность получения резьбы в гнезде показана на рис. 8.4:

    а — сверление отверстия (гнезда) и обработка фаски;

    б — отверстие, готовое для нарезания резьбы;

    в — нарезание резьбы метчиком;

    г — резьбовое гнездо (разрез);

    д — резьбовое гнездо (разрез), изображаемое на чертеже.

Диаметр d1 сверла выбирают по технологическим нормативам в зависимости от размера резьбы; он соответствует примерно внутреннему диаметру резьбы. Длина l — полная длина цилиндрической части отверстия. Дно гнезда, образованное режущей частью сверла, условно изображают как конус с углом при вершине, равным 120°. Глубина отверстия, которое нужно просверлить, зависит от длины резьбы с полным профилем (которую нужно нарезать) и от величины сбега резьбы. В свою очередь, на деталях длину резьбы с полным профилем выбирают в зависимости от материала детали (сталь, алюминий, бронза и т.д.).

Острую кромку на торце отверстия обрабатывают на конус с углом при вершине 120° (это коническое углубление называют фаской). Размер фаски указан на риа 8.4, б. Наличие фаски облегчает врезание метчика. Для постепенного врезания в металл метчики имеют заборную коническую часть, которая при обработке в конце отверстия образует сбег резьбы — резьбу неполного профиля (см. рис. 8.4, г). На чертеже указывают длину резьбы с полным профилем L1 и длину цилиндрического отверстия L (рис. 8.4, д). Практически величина К должна быть не менее 0,5 диаметра резьбы.

Внутренняя резьба

Резьбовое гнездо с условным обозначением резьбы сплошными основными линиями по внутреннему диаметру резьбы и сплошными тонкими линиями по наружному диаметру показано на рис. 8.4, д. Размеры L1 длины резьбы с полным профилем указывают на рабочих чертежах деталей, размер L длины цилиндрического отверстия обычно на чертежах деталей не указывают, но этот размер и диаметр d1 указывают на операционных технологических эскизах на сверление гнезда (рис. 8.4, б). Размер K в чертежах не указывают, а знак диаметра d заменяют стандартным обозначением, рассматриваемым ниже.

Резьба может быть как правой, так и левой. Вращение по часовой стрелке детали с правой резьбой перемещает деталь вдоль оси в направлении от наблюдателя. Для перемещения детали с левой резьбой в направлении от наблюдателя ее вращают против часовой стрелки.

В зависимости от числа заходов (т.е. выступов или канавок) резьбы подразделяют на однозаходные и многозаходные (двухзаходные, трехзаходные и т.д.). В производстве выступ резьбы называют также винтовой ниткой.

Продолжение параграфа >>>

 

 

???????@Mail.ru