Главная >> Машиностроительное черчение. Инженерная графика. Чекмарев

Рабочие чертежи деталей. Детали со стандартными изображениями

Стандартные изображения чертежей пружин

Чертежи пружин выполняют по ГОСТ 2.401—68. Винтовые пружины сжатия и растяжения изображают с правым направлением навивки. Левое направление навивки указывают в технических требованиях.

Пружины кручения изображают с требуемым направлением навивки.

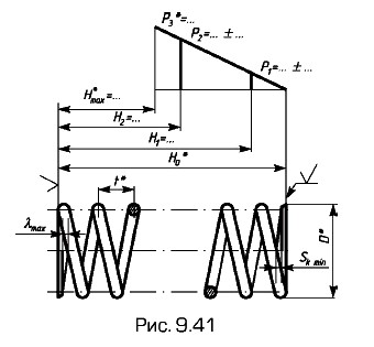
Для параметров пружин установлены следующие основные обозначения:

  • высота (длина) пружины в свободном состоянии — H0; то же между зацепами — H'0; высота тарельчатой пружины в свободном состоянии — h0; высота (длина) пружины под нагрузкой— Н1, H2, H3; деформация (прогиб) пружины осевая — F1, F2, F3, тарельчатой максимальная — ƒ3, угловая — φ1, φ2, φ3;
  • диаметр пружины наружный — D, внутренний — D1, диаметр конической пружины наружный малый — D;
  • диаметр контрольного стержня — Dc, гильзы — Dг;
  • длина развернутой пружины — L;
  • длина пластинчатой пружины в свободном состоянии — L0;
  • зазор между концом опорного витка и соседним рабочим витком — λ;
  • момент силы — М1, М2, М3;
  • напряжение касательное при кручении — τ1, τ2, τ3, нормальное при изгибе — σ1, σ2, σ3;
  • сила пружины — Р1, Р2, Р3;
  • сила межвиткового давления — Ри;
  • толщина (высота) сечения — s;
  • толщина конца опорного витка — sк;
  • угол между зацепами пружины кручения под нагрузкой α1, α2, α3;
  • число жил в тросе — i;
  • число рабочих витков или тарельчатых пружин в пакете — n;
  • число витков полное или число витков спиральной пружины в свободном состоянии — n1;
  • число оборотов барабана спиральной пружины — ψ1, ψ2, ψ3;
  • шаг пружины — t;
  • шаг троса — tтр;
  • ширина сечения — В;
  • ширина опорной плоскости тарельчатой пружины — b.

На рис. 9.41 приведена пружина сжатия с поджатыми на 1/4 витка концами и шлифованными на 3/4 окружности опорными поверхностями. На рис. 9.42 показана пружина сжатия с прямоугольным сечением витка с поджатыми на 3/4 витка концами и шлифованными на 3/4 окружности опорными поверхностями. На рис. 9.43 дана пружина сжатия трехжильная с поджатыми на 3/4 витка концами. На рис. 9.44 приведена пружина сжатия коническая из проволоки круглого сечения с поджатыми на 3/4 витка концами и шлифованными на 3/4 окружности опорными поверхностями. На рис. 9.45 пружина сжатия коническая (телескопическая) из заготовки прямоугольного сечения со шлифованными на 3/4 окружности опорными поверхностями. На рис. 9.46 концы витков пружин сжатия: а, б — поджатые на целый виток: нешлифованный (а), зашлифованный на 3/4 окружности (б); в — поджатые на 3/4 витка и зашлифованные на 3/4 окружности.

Приведена пружина сжатия с поджатыми на 1/4 витка концами

Пружина сжатия с прямоугольным сечением витка

На рабочем чертеже пружины с контролируемыми силовыми параметрами помещают диаграмму испытаний, на которой показывают зависимость нагрузки от деформации или деформации от нагрузки. Если заданным параметром является высота или деформация (линейная или угловая), то указывают предельные отклонения нагрузки — силы или момента (см. рис. 9.41...9.45). Если заданным параметром является нагрузка, то указывают предельные отклонения высоты или деформации.

Пружина сжатия коническая

Окончание параграфа >>>

 

 

???????@Mail.ru