Главная >> Машиностроительное черчение. Инженерная графика. Чекмарев

Чертежи оригинальных деталей

Определение размеров деталей с натуры

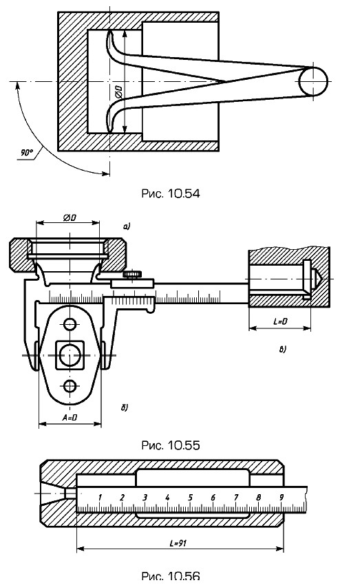
Для определения линейных размеров при выполнении эскизов используют простейшие измерительные инструменты — измерительную линейку, кронциркуль (для измерения наружных размеров), нутромер (для внутренних размеров). С их помощью размеры измеряют с погрешностью 1...0,5 мм.

Более точно (с погрешностью 0,1...0,05 мм) измеряют размеры штангенциркулем.

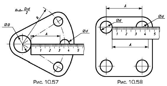
Примеры измерения диаметров указанными инструментами: на рис. 10.54 — нутромером, на рис. 10.55, а — штангенциркулем; длин L: на рис. 10.55, в — штангенциркулем, на рис. 10.56 — линейкой; размера А на рис. 10.55, б — штангенциркулем. Схемы измерения расстояний между осями отверстий показаны на рис. 10.57 и 10.58.

Определение линейных размеров при выполнении эскизов

Определение линейных размеров

Примеры измерения толщины внутренних стенок: на рис. 10.59 — измерительной линейкой, на рис. 10.60 — кронциркулем с линейкой. В первом случае толщину стенки определяют по результатам измерения трех размеров — А, Б, В. Во втором случае — по результатам двух измерений: а) размера А — при измерении на детали; б) размера Б — по линейке. Размер Б выбирают таким, чтобы кронциркуль, не раздвигая измерительных ножек, можно было отвести от детали.

Примеры измерения толщины внутренних стенок

Углы измеряются с точностью до 10° угломером

Углы измеряются с точностью до 10° угломером (рис. 10.61). В данном случае в наклонное отверстие введен гладкий стержень.

Съемка размеров контура с помощью отпечатка

При острых краях форму и размеры плоского контура можно снять в виде отпечатка на бумагу. Бумагу накладывают на плоскость детали и пальцем прижимают к кромкам (рис. 10.62, а). Можно деталь положить на бумагу и контур обвести острым карандашом (рис. 10.62, б). По отпечатку устанавливают геометрическую форму и размеры контура (рис. 10.62, в). Радиусы и центры дуг определяют, проведя перпендикуляры из середины двух хорд дуги одного радиуса, при наличии оси симметрии ее можно считать за один из перпендикуляров.

Размеры плоского контура

Отпечаток контура кромки внутренней полости детали (рис. 10.63, а) снимают на бумагу протиранием контура графитом карандаша (б) или нажатием пальца (в). По отпечатку устанавливают геометрическую форму и размеры контура (г).

Радиусы закруглений галтелей определяют (рис. 10.63, б) радиусомером (набор шаблонов).

Отпечаток контура кромки внутренней полости детали

Окончание параграфа >>>

 

 

???????@Mail.ru