Главная >> Машиностроительное черчение. Инженерная графика. Чекмарев

Изображение соединений деталей

Паяные соединения и их изображение

При пайке детали соединяет специальный материал — припой, который заполняет зазор между деталями и прочно соединяется с ними. Во время пайки детали и припой нагревают до расплавления припоя и заполнения им зазора соединения.

Изображают и обозначают паяные соединения в соответствии с ГОСТ 2.313—82. Паяное соединение на чертежах изображают линией, толщина которой в 2 раза больше, чем линия обводки видимого контура, т.е. 2s. К паяному соединению проводят выносную линию со стрелкой. Эту линию пересекают условным знаком пайки в виде полудуги (рис. 11.37, а). Для швов, выполненных по периметру, линию-выноску заканчивают окружностью диаметром 3...4 мм, от которой проводят полочку. Ее используют для обозначения номера пункта технических требований, в которых указывают марку припоя и требования к качеству шва.

При необходимости на изображении паяного соединения указывают размеры шва и обозначения качества его поверхности.

Конструкции паяных соединений весьма разнообразны.

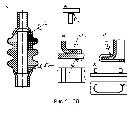
На рис. 11.38 даны примеры паяного соединения керамического изолятора (а) с металлическими деталями, таврового паяного соединения двух пластин (б, в), трубы по замкнутому контуру (г), ограниченного определенными участками (д). Основные типы паяных соединений (рис. 11.39): ПН-1 — ПН-3 — нахлесточные; ПН-4 - ПН-6 — телескопические; ПВ-1, ПВ-2 — стыковые; ПВ-3, ПВ-4 остыковые; ПТ-1 — ПТ-4 — тавровые; ПУ-1, ПУ-3 — угловые; ПС-1, ПС-5 — соприкасающиеся. Кроме указанных в промышленности широко применяются комбинированные соединения.

Примеры паяного соединения керамического изолятора

Основные типы паяных соединений

Основные типы паяных соединений (окончание)

Следующий параграф >>>

 

 

???????@Mail.ru