Главная >> Машиностроительное черчение. Инженерная графика. Чекмарев

Изображение соединений деталей

Изображение сборочных единиц, изготовленных опрессовкой

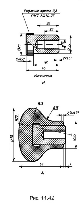
Деталь, опрессованная пластмассой, образует с ней неразъемное соединение. На рис. 11.41 показана головка рычага, выполненная из пластмассы; внутри головки находится опрессованный наконечник. Для изготовления такой головки сначала выполняют по чертежу наконечник (рис. 11.42, а), а затем его закрепляют в пресс-форме и опрессовывают пластмассой. Для изготовления пресс-формы необходимо задать поверхность, ограничивающую внутреннюю полость, которую заполнит пластмасса (рис. 11.42, б).

Размер 3 необходим для увязки положения наконечника.

Деталь, опрессованная пластмассой, образует с ней неразъемное соединение

Изготовления пресс-формы

Следующий параграф >>>

 

 

???????@Mail.ru