Главная >> Сборник задач по физике 7-9 кл. Перышкин. Ответы

Работа и мощность. Энергия

25. Применение закона равновесия рычага к блоку. «Золотое правило» механики

596. Может ли человек массой 70 кг поднять и удерживать груз массой 90 кг при помощи неподвижного блока?

597. Какое давление на землю производит строитель массой 65 кг, равномерно поднимая на неподвижном блоке мешок с песком массой 40 кг?

598. Кирпичи подняли на высоту 2 м при помощи неподвижного блока. Какой путь прошел свободный тяговый конец каната?

блок

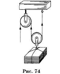
599. На подвижном блоке равномерно поднимают груз 50 кг (рис. 74). Какая сила приложена к оси неподвижного блока? к крючку, к которому привязан правый конец веревки? к оси подвижного блока?

600. Грузчик поднял багаж на высоту 2 м с помощью подвижного блока, приложив к свободному концу веревки силу 600 Н. Вычислите (не учитывая силу трения) совершенную им работу.

601. Веревка выдерживает максимальную нагрузку 2 кН. Можно ли при помощи блоков поднимать на данной веревке груз массой 4 кН? Как это сделать?

602. Может ли рабочий при помощи системы блоков поднять груз массой 300 кг, прилагая силу 500 Н? Как это сделать?

Ворот состоит из вала и колеса

603. Ворот состоит из вала и колеса, насаженного на этот вал (рис. 75). Диаметр вала ворота d = 0,2 м, диаметр колеса ворота D = 2 м. Какой выигрыш в силе дает такой ворот?

604. Каким должно быть отношение диаметров колеса и вала ворота, чтобы с его помощью можно было получить выигрыш в силе в 10 раз?

605. Длина ледяной горы 20 м, а высота 4 м. Какую надо совершить работу, чтобы на эту гору поднять сани массой 15 кг? Какая сила требуется для подъема саней?

606. При помощи винтового домкрата поднимают груз массой 2 т. Определить силу, приложенную к концу рукоятки домкрата, если при подъеме груза на 1 мм конец рукоятки придвигается на 25 см.

винтовой пресс

607. При помощи винтового пресса сгибают рельс (рис. 76). Определить силу, нажимающую на рельс, если винт поворачивается рукояткой, конец которой проходит расстояние в 1м, в то время как винт передвигается на 0,5 см. На конец рукоятки действует сила в 200 Н.

 

 

???????@Mail.ru