Главная >> Физика 11 кл. Мякишев

Глава 4. Электромагнитные колебания

§ 28. Колебательный контур. Превращение энергии при электромагнитных колебаниях

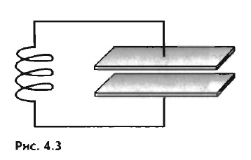
Простейшая система, в которой могут происходить свободные электромагнитные колебания, состоит из конденсатора и катушки, присоединенной к его обкладкам (рис. 4.3), и называется колебательным контуром.

    Простейшая система, в которой могут происходить свободные электромагнитные колебания

Зарядим конденсатор, присоединив его на некоторое время к батарее с помощью переключателя (рис. 4.4, а). При этом конденсатор получит энергию

    Конденсатор получит энергию

где qm — заряд конденсатора, а С — его электроемкость. Между обкладками конденсатора возникнет разность потенциалов Um.

Переведем переключатель в положение 2 (рис. 4.4, б). Конденсатор начнет разряжаться, и в цепи появится электрический ток. Сила тока не сразу достигает максимального значения, а увеличивается постепенно. Это связано с явлением самоиндукции. ЭДС самоиндукции возникает при появлении тока в цепи и препятствует его увеличению, поэтому ток в цепи растет постепенно.

    ЭДС самоиндукции

По мере разрядки конденсатора энергия электрического поля уменьшается, но одновременно возрастает энергия магнитного поля тока, которая определяется формулой

    Энергия электрического поля уменьшается, но одновременно возрастает энергия магнитного поля тока

где i — сила переменного тока; L — индуктивность катушки.

Окончание >>>

 

 

???????@Mail.ru