Главная >> Машиностроительное черчение. Инженерная графика. Чекмарев

Оформление чертежей

Нанесение размеров на чертеже (продолжение)

Размерные числа

Размерные числа наносят над размерной линией возможно ближе к ее середине (рис. 2.34). Однако при нанесении размера диаметра внутри окружности размерные числа смещают относительно середины размерных линий (см. рис. 2.42). При нанесении нескольких параллельных или концентрических размерных линий размерные числа над ними рекомендуется располагать в шахматном порядке (рис. 2.35).

Нанесении нескольких параллельных или концентрических размерных линий

Расположение размерных чисел линейных размеров при различных наклонах размерных линий показано на рис. 2.36. Простановка угловых размеров показана на рис. 2.37. В зоне, расположенной выше горизонтальной осевой линии, размерные числа помещают над размерными линиями со стороны выпуклости, в противоположной зоне — со стороны вогнутости. В заштрихованной зоне на рис. 2.36, 2.37 размерные числа указывают на горизонтальных полках (рис. 2.38).

Размерные числа указывают на горизонтальных полках

Если для нанесения стрелок или написания размерного числа недостаточно места, то их наносят так, как показано на рис. 2.39 и 2.40. Способ нанесения размерного числа при различных положениях размерных линий (стрелок) на чертеже определяется наибольшим удобством чтения.

Способ нанесения размерного числа

Размерные числа нельзя разделять или пересекать какими бы то ни было линиями чертежа и наносить в местах пересечения размерных, осевых и центровых линий. В месте нанесения размерного числа осевые, центровые и линии штриховки прерывают (рис. 2.41), но линию контура прерывать нельзя.

При изображении части вида или части разреза симметричного предмета размерные линии, относящиеся к этим элементам, проводят с обрывом. Обрыв размерной линии делают дальше оси или линии обрыва изделия (рис. 2.42, а, б). При изображении изделия с разрывом размерную линию не прерывают (рис. 2.43).

Нанесения размерного числа осевые, центровые и линии штриховки прерывают

Нанесение размеров формы поверхностей деталей. При нанесении размера радиуса перед размерным числом помещают прописную букву R (см. рис. 2.32). Если не требуется указывать размеры, определяющие положение центра дуги окружности, то размерную линию радиуса можно не доводить до центра и смещать ее относительно центра (рис. 2.44). Когда при нанесении размера радиуса дуги окружности надо указать размер, определяющий положение ее центра, то этот центр изображают в виде пересечения центровых или выносных линий. При большом радиусе центр можно приблизить к дуге, в этом случае размерную линию радиуса показывают с изломом под углом 90° (рис. 2.45). При простановке нескольких размеров радиусов из одного центра размерные линии любых двух радиусов не располагают на одной прямой (рис. 2.46, а), а размерные линии, расположенные между двумя крайними, можно не доводить до центра (рис. 2.46, б).

Простановке нескольких размеров радиусов

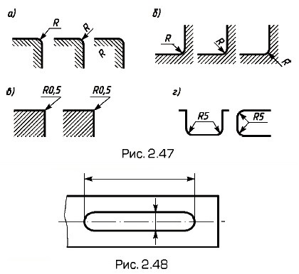
Нанесение радиусов скруглений показано на рис. 2.47, а — г. Скругления, размер которых в масштабе чертежа 1 мм и менее, на чертеже не изображают (рис. 2.47, в). Размеры одинаковых радиусов можно указывать на общей полке (рис. 2.47, г). Если радиусы скруглений, сгибов и т.п. одинаковы или какой-либо радиус преобладает, то их не наносят на чертеж изделия, а делают запись в технический требованиях: Радиусы скруглений 4мм, Внутренние радиусы сгибов 8 мм, Неуказанные радиусы 5 мм и т.п. Можно не наносить на чертеж размеры радиуса дуги окружности сопрягающихся параллельных линий (рис. 2.48).

Нанесение радиусов скруглений

При указании размера диаметра во всех случаях перед размерным числом ставят знак ∅.

Минимальное количество размеров, необходимых для задания формы элементарных геометрических тел, показано на рис. 2.49: a — сферы; б — тора; в, г — призмы квадратного сечения; д — конуса; е — пирамиды; ж, з, и, к — усеченного конуса.

Перед размерным числом диаметра или радиуса сферы наносят знак ∅ или R без надписи Сфера (рис. 2.50, а, б). Однако если на чертеже изображение сферы неоднозначно, то перед размерным числом диаметра (радиуса) можно наносить слово Сфера или знак О, например Сфера ∅18, О R 12 (см. рис. 2.50, а). Диаметр знака сферы равен размеру шрифта размерных чисел на чертеже.

Размеры квадрата указывают со знаком (см. рис. 2.49, в, г), если требования к точности расположения всех граней одинаковы. Высоту знака квадрата принимают равной высоте размерных чисел.

Размеры квадрата

<<< К началу параграфа                       Окончание параграфа >>>

 

 

???????@Mail.ru