Главная >> Машиностроительное черчение. Инженерная графика. Чекмарев

Рабочие чертежи деталей. Детали со стандартными изображениями

Изображение стандартных деталей (окончание)

Шайбы стопорные многолапчатые

Шайбы стандартного ряда выпускаются до размера d1 = 200 мм и предназначены для стопорения круглых шлицевых гаек (рис. 9.12). При сборке внутреннюю отогнутую лапку устанавливают в продольный паз резьбового стержня, а одну из шайб наружных лапок отгибают в шлиц гайки.

Шайбы стопорные многолапчатые

Стопорные деформируемые шайбы

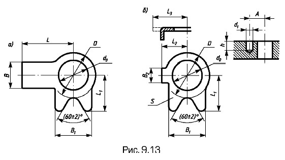
Стандартизованы двух типов — с лапкой (а) и с носком (б), нормальные и уменьшенные (рис. 9.13).

Стопорные деформируемые шайбы

Шайбы с лапкой назначают для конструкций, в которых есть возможность отогнуть длинную лапку за край детали. Шайбы с носком используют для конструкций, в которых край детали расположен далеко от отверстия под крепежный элемент. Носок шайбы при сборке вводят в отверстие диаметром d1 и глубиной h, просверленное в детали. Разрезную лапку отгибают на грани гайки для ее фиксации в выбранном положении.

Шплинты

Используются для предотвращения самоотвинчивания корончатых и шлицевых гаек и продольной фиксации деталей на гладких валах и осях (рис. 9.14).

Шплинты

Заклепки

Применяют для неразъемного соединения деталей, изготовленных из несвариваемых материалов или материалов, не допускающих нагрева при сварке, и др.

Заклепка состоит из стержня и головки (рис. 9.15). Определяющими размерами заклепок являются диаметр d и длина l. Форму заклепки как тела вращения полностью передает одно изображение.

Заклепки

Заклепки изготавливаются с полукруглой головкой (а) и с потайной головкой (б).

Общие технические требования на заклепки, а также условные обозначения групп и марок материалов, виды и толщины покрытий установлены в ГОСТ 10304—80.

В условном обозначении заклепок на чертежах указывают в следующем порядке: наименование, диаметр, длину, группу материала, марку материала, группу покрытия и номер стандарта на размеры.

На учебных чертежах указывают диаметры и длину заклепки: Заклепка 5x16ГОСТ...

Шпонки

Шпонкой называется деталь, устанавливаемая в пазах соединяемых деталей для предотвращения и относительного перемещения при передаче крутящего момента. Преимущественно применяются при соединении валов со ступицей вращающихся деталей. Наиболее распространены призматические (рис. 9.16) и сегментные (рис. 9.17) шпонки. Сегментные шпонки рекомендованы только для неподвижных соединений.

Шпонки

Форму призматической шпонки дают три ее изображения: вид спереди, вид сборку и вид сверху (исполнения 1, 2 и 3). Фаски сняты по всему контуру верхней и нижней граней шпонки.

В условном обозначении призматических шпонок указывают следующее: наименование, вид исполнения (исполнение 1 не указывают), размеры сечения и длину шпонки (b х h х l), номер стандарта.

Сегментные шпонки имеют форму сегмента круга данной толщины. Форму шпонки дают два вида: вид спереди и вид сбоку. Фаски сняты по всему контуру. В условном обозначении сегментных шпонок указывают наименование, размеры сечения шпонки (b х h) и номер стандарта.

<<< К началу параграфа                       Следующий параграф >>>

 

 

???????@Mail.ru