Главная >> Машиностроительное черчение. Инженерная графика. Чекмарев

Рабочие чертежи деталей. Детали со стандартными изображениями

Стандартные изображения зубчатых передач и их деталей

На ряд деталей или их основных элементов, широко используемых в технике, установлены стандартные изображения. К ним относятся зубчатые колеса и рейки, червячные колеса и червяки, звездочки цепных передач, шкивы ременных передач, элементы трубопроводов, чертежи пружин. Рассмотрим их.

Зубчатая передача

Зубчатые передачи широко используют для передачи и преобразования вращательного движения между валами с параллельными, пересекающимися и скрещивающимися осями. Между параллельными валами зубчатые передачи осуществляют движение цилиндрическими зубчатыми колесами, пример которых с числами зубьев z1 и z2 дан на рис. 9.18. На этом рисунке при изображении зубьев допущена условность: часть зубьев не изображена, а по границе их впадин проведена тонкая линия.

Зубчатая передача

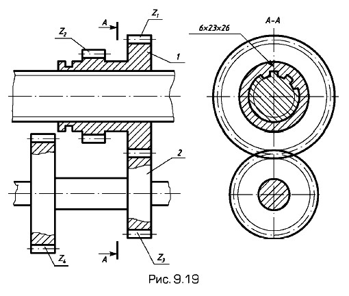
Пример изображения зубчатого соединения с двумя парами зубчатых колес с числами зубьев z1 и z3, z2 и z4 дан на рис. 9.19. Блок 1 зубчатых колес может перемещаться вдоль оси шлицевого вала и попеременно образовывать с зубчатыми колесами и валом две зубчатые передачи z1 и z3 или при перемещении блока влево — z2 и z4.

Изображения зубчатого соединения с двумя парами зубчатых колес

При выполнении чертежей зубчатых передач применяют условные изображения зубчатых передач и зубчатых колес по ГОСТ 2.402—68. Зубья зубчатых колес вычерчивают только в осевых разрезах и показывают всегда нерассеченными. В остальных случаях зубчатый венец ограничивают поверхностями вершин, которые показывают сплошными основными линиями, в том числе и в зоне зацепления. По впадинам зубьев проводят сплошную тонкую линию. Штрихпунктирной линией изображают начальную окружность, диаметр которой

dдг = m х z,

где m — модуль (линейная величина, в п раз меньшая окружного шага зубьев); — число зубьев колеса.

Значения модуля стандартизованы.

Диаметр окружности вершин da и диаметр окружности впадин d ƒ можно вычислить по формулам:

da = d + 2m = m(z + 2);
d ƒ = d - 2,5m = m(z - 2,5).

Пояснения некоторых новых терминов даны на рис. 9.20 и 9.21.

В зубчатой передаче движение передается с помощью зацепления пары зубчатых колес

Параметры шестерни

Вопросы расчета и проектирования зубчатых колес и передач рассматриваются в курсах теории механизмов и машин, деталей машин. После их изучения может осмысленно заполняться таблица параметров, приводимая на чертежах. Приведем основные определения зубчатых зацеплений.

В зубчатой передаче движение передается с помощью зацепления пары зубчатых колес, меньшее из которых называется шестерней, большее — колесом. Термин «зубчатое колесо» относится как к шестерне, так и к колесу. Параметры шестерни принято обозначать с индексом 1, параметры колеса — с индексом 2.

Зубчатые передачи подразделяют в зависимости:

  • от расположения геометрических осей валов с зубчатыми колесами на цилиндрические (при параллельных осях), конические (при пересекающихся осях) и винтовые (при скрещивающихся осях); реечную передачу рассматривают как частный случай цилиндрической зубчатой передачи с колесом, диаметр которого равен бесконечности;
  • расположения зубьев на ободе колеса на прямозубые, косозубые, шевронные и с круговыми зубьями;
  • формы профиля зуба — эвольвентные, циклоидальные и с зацеплением Новикова;
  • взаимного расположения колес — с внешним или внутренним зацеплением;
  • числа ступеней передачи — одно- и многоступенчатые;
  • характера движения валов — рядовые и планетарные.

Преимущественное применение имеют прямозубые цилиндрические и конические передачи с эвольвентными зубьями.

Геометрические и кинематические элементы зацепления цилиндрической пары колес с эвольвентными зубьями (см. рис. 9.20) имеют следующие определения.

Делительная окружность — окружность, принадлежащая отдельно взятому колесу, на которой шаг t и угол зацепления колеса соответственно равны теоретическому шагу и углу зацепления режущего инструмента.

Окружность выступов — окружность 1, проходящая через вершины зубьев.

Окружность впадин — окружность 2, проходящая через основания зубьев.

Полюс зацепления — точка Р на пересечении линии центров О1О2 с общей нормалью к сопряженным профилям в точке их касания (на линии зацепления).

Начальная окружность — окружность, проходящая через полюс зацепления Р на линии центров колес. Начальные окружности двух находящихся в зацеплении колес касаются одна другой в полюсе зацепления и делят зубья колес по высоте на две части: головку и ножку. У отдельно взятого колеса начальной окружности не существует.

Линия зацепления — линия, неподвижная относительно линии центров О1О2, по которой перемещается точка касания сопряженных элементов. Отрезок l' линии зацепления между начальной и конечной точками фактического касания сопряженных профилей называют активной частью линии зацепления.

Шаг зацепления t — расстояние между одноименными точками двух смежных зубьев, измеренное по начальной окружности и равное отношению длины начальной окружности к числу зубьев: t = πd/z.

Толщина зуба s —длина дуги окружности между двумя разноименными профилями одного зуба, измеренная по начальной окружности. Теоретическая толщина s = 0,5t используется для вычерчивания зубьев эвольвентного профиля.

Модуль зацепления m — часть диаметра делительной окружности, приходящаяся на один зуб: m = t/π = d/z. Модуль является основной характеристикой размеров зубьев и измеряется в миллиметрах.

Угол зацепления α — угол между линией центров и перпендикуляром к линии зацепления.

Высота зуба или глубина впадины h — радиальное расстояние между окружностью выступов и окружностью впадин. Складывается из высоты головки зуба ha = m и высоты ножки зуба hƒ = 1,25m, т.е. h = 2,25m.

Диаметр начальной окружности d = mz.

Диаметр окружности выступов da = d + 2 ha = m(z + 2).

Диаметр окружности впадин dƒ = d - 2hƒ = m(z - 2,5).

Передаточное число зубчатой передачи i — отношение угловых ω скоростей ведущего и ведомого колес или отношение частоты вращения n ведущего и ведомого колес: i = ω12 = n1/n2.

Межцентровое расстояние О1О2 = А = m(z1 + z2)/2.

Стандартизовано два ряда модулей m (первый ряд считается предпочтительным), мм:

    1- й ряд: 0,05; 0,06; 0,08; 0,1; 0,12; 0,15; 0,2; 0,25; 0,3; 0,4; 0,5; 0,6; 0,8; 1; 1,25; 2; 2,5; 3; 4; 5; 6; 8; 10; 12; 16; 20; 25; 32; 40; 50; 60; 80; 100;

    2- й ряд: 0,055; 0,07; 0,09; 0,11; 0,14; 0,18; 0,22; 0,28; 0,35; 0,45; 0,55; 0,7; 0,9; 1,125; 1,375; 1,75; 2,25; 2,75; 3,5; 4,5; 5,5; 7; 9; 11; 14; 18; 22; 28; 36; 45; 55; 70; 90.

При выполнении чертежей зубья и витки колес и червяков вычерчивают в осевых разрезах и сечениях, зубья реек — в поперечных. В остальных случаях зубья и витки не вычерчивают, ограничивая изображение окружностью по диаметру выступов. При необходимости профиль зуба или витка показывают на выносном элементе или ограниченном участке изображения детали. Условное изображение цилиндрических зубчатых колес с наружным (а) и внутренним (б) зубчатым венцом показано на рис. 9.22.

изображение цилиндрических зубчатых колес с наружным и внутренним зубчатым венцом

Окружности и образующие поверхностей выступов зубьев и витков показывают сплошными линиями, в том числе и в зоне зацепления (рис. 9.23...9.26). Тонкими штрихпунктирными линиями обозначают: на чертежах зубчатых колес, реек, червяков и звездочек — делительные окружности, делительные линии и образующие делительных поверхностей (цилиндров, конусов и т.п.), а также окружности больших оснований делительных конусов; на чертежах глобоидных червяков и сопрягаемых с ними червячных колес — расчетные окружности и образующие расчетных поверхностей. На приведенных чертежах показаны условные изображения зубчатых передач и с цилиндрическими колесами (см. рис. 9.23), конической передачи с углом между осями 90° (см. рис. 9.24), зубчатой реечной передачи (см. рис. 9.25), червячной передачи с цилиндрическим червяком (см. рис. 9.26).

Изображения зубчатых передач

Чертеж червячной передачи с цилиндрическим червяком

Окружности и образующие поверхностей впадин зубьев и витков на видах деталей допускается показывать сплошными тонкими линиями, а в разрезах и сечениях — сплошными основными линиями.

В продольных осевых разрезах зубчатых колес, а также в поперечных разрезах реек и червяков зубья и витки условно совмещают с плоскостью чертежа и показывают нерассеченными независимо от профиля зуба и углов наклона зуба (углов подъема витка).

Примеры применения стандартных условных изображений для зубчатых цилиндрических, конических и червячных колес приведены ниже.

Продолжение параграфа >>>

 

 

???????@Mail.ru