Главная >> Машиностроительное черчение. Инженерная графика. Чекмарев

Рабочие чертежи деталей. Детали со стандартными изображениями

Стандартные изображения зубчатых передач и их деталей (продолжение)

Изображение зубчатых передач

При изображении на чертеже зубчатых передач начальные и расчетные окружности, образующие начальных и расчетных окружностей, а также окружности больших оснований начальных конусов проводят тонкими штрихпунктирными линиями (см. рис. 9.23...9.26). Окружности и образующие поверхностей выступов зубьев и витков показывают сплошными основными линиями на всем протяжении, включая зону зацепления.

На разрезе в зоне зацепления, если секущая плоскость проходит через оси зубчатых колес, принято зуб ведущего колеса показывать расположенным перед зубом ведомого колеса. Аналогично для червячных передач виток червяка показывают расположенным перед зубом червячного колеса. В реечном зацеплении зуб колеса изображают перед зубом рейки. Во всех случаях невидимые контуры допускается не наносить (см. рис. 9.24).

Цилиндрические зубчатые колеса

Правила выполнения чертежей эвольвентных зубчатых колес с указанием параметров зубчатого венца стандартизованы. На изображении (рис. 9.27, 9.28) указывают диаметр вершин зубьев, ширину венца, размеры фасок или радиусы притуплений на кромках зубьев, шероховатость боковых поверхностей зубьев.

Цилиндрические зубчатые колеса

На поле чертежа в правом верхнем углу помещают таблицу параметров зубчатого венца, состоящую из трех частей, отделенных одна от другой сплошными основными линиями: первая часть — основные данные; вторая — данные для контроля; третья — справочные данные.

В первой части таблицы указывают: модуль m стандартного ряда; число зубьев z (для зубчатого сектора — число зубьев секторного колеса); угол наклона β линии зуба косозубых и шевронных колес; направление линии косого зуба (надписью Правое или Левое, для шевронных колес — надписью Шевронное); нормальный исходный контур (стандартный — указанием соответствующего стандарта, нестандартный — указанием группы параметров, включающих угол профиля α, коэффициент высоты головки ha, коэффициент толщины зуба s и др.). Если исходный контур не полностью определен перечисленными параметрами, то на чертеже должно быть приведено его изображение с необходимыми размерами. В этой части таблицы приводят также коэффициент смещения х с соответствующим знаком и степень точности по нормам бокового зазора.

Вторая часть таблицы содержит данные для контроля взаимного положения разноименных профилей зубьев. Перечень данных для зубчатых колес со стандартным или нестандартным исходным профилем определяется одним из контрольных комплексов, предусмотренных стандартом на допуски и нормы кинематической точности, плавности работы, контакта зубьев в передаче и бокового зазора. Вариант данных для прямозубых эвольвентных колес стандартного исходного контура включает: постоянную хорду зуба c, высоту до постоянной хорды c, длину общей нормали W, торцевой размер M по роликам или шарикам, диаметр ролика (шарика).

В третьей части таблицы указывают: делительный диаметр dd, шаг зацепления ра, осевой шагрх, ход зуба рz, обозначение чертежа сопряженного зубчатого колеса.

При наличии двух (и более) венцов одного вида (см. рис. 9.28) значения параметров зубчатых венцов указывают в отдельных графах (колонках) таблицы с обозначением соответствующей колонки и венца прописной буквой русского алфавита. Если изделие имеет два (или более) венца разного вида (например, цилиндрический и конический), то для каждого венца заполняют отдельную таблицу. Таблицы допускается располагать рядом или одна под другой. Неиспользуемые строки таблицы параметров разрешено исключать или прочеркивать.

Реечное зацепление

Правила выполнения чертежей механически обработанных реек, сопрягаемых с эвольвентными цилиндрическими зубчатыми колесами, устанавливает ГОСТ 2.404—75.

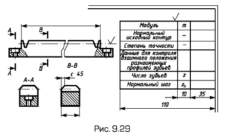
На изображении зубчатой рейки (рис. 9.29) указывают: длину нарезной части рейки; размеры фасок или радиусы скругления на кромках зубьев; шероховатость боковых поверхностей зубьев.

Реечное зацепление

В первой части таблицы параметров обозначают: модуль m, угол наклона β линии зуба косых зубьев; направление линии зуба для косых зубьев (надписью Правое или Левое); нормальный исходный контур (нормальный стандартный со ссылкой на соответствующий стандарт или нестандартный с параметрами: угол профиля α, коэффициент высоты головки ha, коэффициент радиального зазора с, коэффициент толщины зуба s, степень точности и вид сопряжения по нормам бокового зазора).

Перечень данных второй части таблицы параметров аналогичен перечню данных цилиндрических колес.

В третью часть таблицы параметров вносят число зубьев z рейки, нормальный шаг рn и обозначение чертежа сопряженного зубчатого колеса.

Пример выполнения чертежа элементов реечного зацепления см. на рис. 9.25. Профиль зуба рейки — равнобочная трапеция с углом наклона боковых сторон 20° к высоте трапеции. Средняя линия рейки касательна к делительной окружности зубчатого колеса. Линия впадин не изображается.

<<< К началу параграфа                       Окончание параграфа >>>

 

 

???????@Mail.ru