Главная >> Машиностроительное черчение. Инженерная графика. Чекмарев

Рабочие чертежи деталей. Детали со стандартными изображениями

Стандартные изображения шкивов

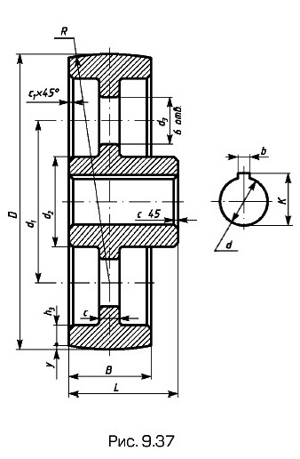
Шкивы в ременных передачах служат для передачи движения от одного вала (ведущего) другому (ведомому) с помощью ремней (плоских, клиновых или зубчатых). Шкив состоит из обода с размещающейся на нем рабочей частью, диска или спиц, ступицы и центрального отверстия. Учебные чертежи основных типов шкивов даны на рис. 9.37 и 9.38.

Стандартные изображения шкивов

Рабочую часть шкива выполняют: а) в виде торовой поверхности радиуса R или цилиндра (реже) и двух небольших конусов по краям обода для плоских ремней; б) с канавками для клиновых ремней; в) с зубьями для специального профиля обода для зубчатых ремней.

Изображения шкивов

На чертеже шкива дают два изображения: фронтальный разрез плоскостью, проходящей через ось, и вид сборку. На разрезе спицы не штрихуют. На приведенных чертежах шкивов приведено рекомендуемое расположение размеров.

Следующий параграф >>>

 

 

???????@Mail.ru