Главная >> Машиностроительное черчение. Инженерная графика. Чекмарев

Рабочие чертежи деталей. Детали со стандартными изображениями

Стандартные изображения трубопроводов

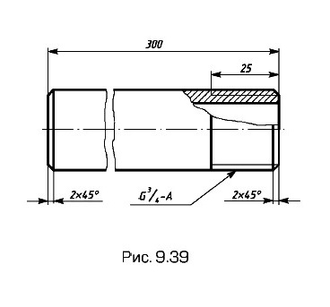
Правила изображения трубопроводов на чертежах одинаковы для всех труб. Их сортамент и материал записывают в основной надписи. Характерными размерами любой трубы служат диаметр ее отверстия (условный проход) и толщина стенки. Примеры чертежей труб даны на рис. 9.39 и 9.40.

Изображения трубопроводов на чертежах

На чертеже трубы наносят длину, радиусы изгибов, обработку концов и т.д. Данные заготовки трубы указывают в графе «Материалы» основной надписи в виде шифра, приводимого в стандарте на соответствующую трубу. Чертежи труб и трубопроводов выполняют в соответствии с требованиями ГОСТ 2.411—72, ГОСТ 2.78470, ГОСТ 2.785-70.

Примеры чертежей труб

Следующий параграф >>>

 

 

???????@Mail.ru