Главная >> Электродинамика. Физика 10-11 класс. Мякишев

Глава 2. Постоянный электрический ток

Электрические цепи. Последовательное и параллельное соединения проводников

Параллельное соединение проводников

Параллельным соединением проводников называется такое их соединение, когда одни концы всех проводников соединяются в один узел (А), а другие концы — в другой (В) (рис. 2.21). При параллельном соединении различают ветви — отдельные проводники между узлами, разветвление — часть цепи между двумя узлами, неразветвленную часть цепи, лежащую вне разветвления.

При параллельном соединении выполняются следующие соотношения:

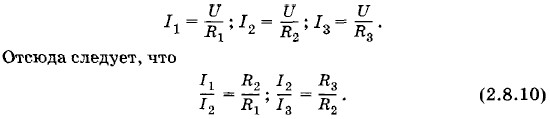
1. Напряжения на всех ветвях и на разветвлении одинаковы, так как все они равны разности потенциалов точек А и В:

U1 = U2 = U3 = U = φA - φB.                     (2.8.8)

2. По первому правилу Кирхгофа

I = I1 + I2 + I3                     (2.8.9)

Сила тока в неразветвленной части цепи равна сумме сил токов в ветвях.

3. По закону Ома

Силы токов в ветвях обратно пропорциональны сопротивлениям этих ветвей.

4. Сопротивлением разветвления R называют сопротивление такого проводника, которым можно заменить разветвление без изменения силы тока в неразветвленной части цепи и напряжения между узлами.

Заменив в равенстве (2.8.9) значения сил токов, согласно закону Ома, получим:

Величина, обратная сопротивлению разветвления, равна сумме величин, обратных сопротивлениям отдельных ветвей.

Если учесть, что величина, обратная сопротивлению, представляет собой проводимость проводника, то равенство (2.8.11) можно записать так:

G = G1 + G2 + G3.                     (2.8.12)

Проводимость разветвления равна сумме проводимостей ветвей.

Заметим, что сопротивление разветвления меньше наименьшего из сопротивлений его ветвей. В самом деле, пусть сопротивление i-й ветви является наименьшим, тогда из равенства

следует, что (сумма больше каждого из отдельных cлагаемых). Отсюда R < Ri.

Если разветвление состоит из двух ветвей, то

Сопротивление двух параллельно соединенных проводников равно произведению сопротивлений этих проводников, деленному на их сумму.

Если сопротивления отдельных ветвей равны между собой:

Общее сопротивление n одинаковых параллельно соединенных проводников равно сопротивлению одного проводника, деленному на их число.

5. Умножив обе части равенства (2.8.9) на напряжение U на разветвлении, получим:

IU = I1U + I2U + I3U,

или

Р = Р1 + Р2 + Р3.                     (2.8.15)

Мощность тока в разветвлении равна сумме мощностей тока в отдельных ветвях.

Смешанное соединение проводников

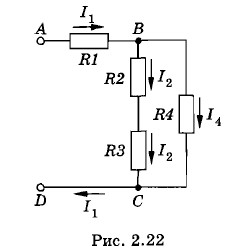
схема смешанного соединения проводников

На рисунке 2.22 в качестве примера приведена схема смешанного соединения проводников. В цепи имеются два последовательно соединенных участка: участок АВ, состоящий из одного резистора R1, и участок ВС, состоящий из двух параллельных ветвей. Так как одна параллельная ветвь имеет сопротивление R2 + R3 (ветвь содержит два последовательно соединенных резистора R2 и R3), а вторая — R4, то сопротивление участка ВС

а общее сопротивление всех участков цепи

Различные проводники в цепи соединяются друг с другом последовательно или параллельно. В первом случае сила тока одинакова во всех проводниках, а во втором случае одинаковы напряжения на проводниках. Чаще всего к осветительной сети различные потребители тока подключаются параллельно.

<<< К началу параграфа

 

 

???????@Mail.ru