Главная >> Машиностроительное черчение. Инженерная графика. Чекмарев

Изображения. Надписи. Обозначения

Сечения

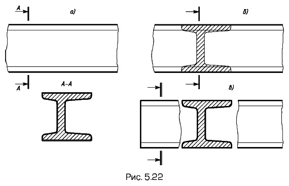
Сечения (рис. 5.22), не входящие в состав разреза, разделяют на вынесенные — а и наложенные — б. Вынесенные сечения являются предпочтительными, и их допускается располагать в разрыве между частями одного и того же вида (рис. 5.22, в).

Контур вынесенного сечения, а также сечения, входящего в состав разреза, изображают сплошными основными линиями, а контур наложенного сечения (рис. 5.22 б) — сплошными тонкими линиями, причем контур изображения в месте расположения наложенного сечения не прерывают.

Для несимметричных сечений линию сечения обозначают разомкнутой линией с указанием стрелками направления взгляда. При этом для вынесенного сечения ее обозначают одинаковыми прописными буквами русского алфавита, а изображение сечения надписывают (рис. 5.22, а). Для таких же сечений, наложенных (рис. 5.22, б) или расположенных в разрыве (рис. 5.22, в), линию сечения проводят со стрелками, но буквами не обозначают.

Сечения вынесенные и наложенные

У симметричных сечений (наложенных а или вынесенных б — рис. 5.23) ось симметрии указывают штрихпунктирной тонкой линией без обозначения буквами и стрелками и линию сечения не проводят.

Сечение по построению и расположению должно соответствовать направлению, указанному стрелками (см. рис. 5.22). Допускается располагать сечение на любом поле чертежа. Секущие плоскости выбирают так, чтобы получить нормальные поперечные сечения (рис. 5.24, а, б). Сечения строят вращением нормального поперечного сечения до положения, параллельного какой-либо плоскости проекций.

Поперечные сечения

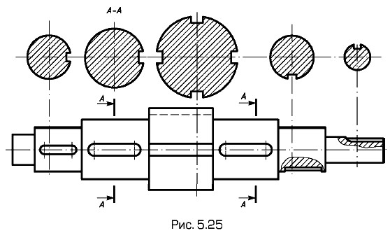
Для нескольких одинаковых сечений, относящихся к одному предмету, линию сечения обозначают одной и той же буквой и вычерчивают одно сечение, например сечение А — А на рис. 5.25. Две шпоночные канавки справа повернуты относительно канавок в сечении А — А в учебных целях.

Нескольких одинаковых сечений

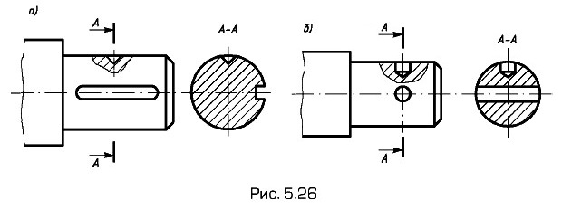
Если секущая плоскость проходит через ось поверхности вращения, ограничивающей отверстие или углубление, то контур отверстия или углубления в сечении показывают полностью. Например, в сечениях А — А на рис. 5.26, а в соответствии с этим требованием изображено коническое углубление, на рис. 5.26, б — цилиндрические сквозное и глухое отверстия.

Цилиндрические сквозное и глухое отверстия

Допускается в качестве секущей применять цилиндрическую поверхность, развертываемую затем в плоскость (рис. 5.27). В этом случае рядом с обозначением сечения ставят знак развертки.

Ставят знак развертки.

Следующий параграф >>>

 

 

???????@Mail.ru