Главная >> Машиностроительное черчение. Инженерная графика. Чекмарев

Изображения. Надписи. Обозначения

Выносные элементы

Выносной элемент — это дополнительное отдельное изображение (обычно увеличенное) какой-либо части предмета, требующей графического и других пояснений в отношении формы, размеров и иных данных.

Выносной элемент может содержать подробности, не указанные на соответствующем изображении, и может отличаться от него по содержанию (например, изображение может быть видом, а выносной элемент — разрезом).

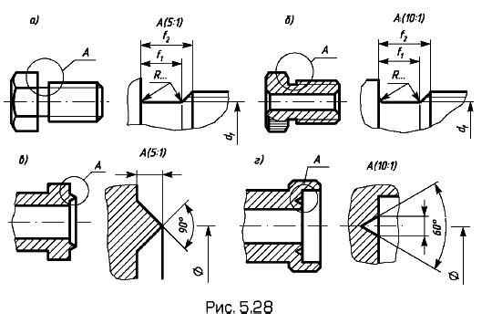
При применении выносного элемента соответствующее место отмечают на виде, разрезе или сечении замкнутой сплошной тонкой линией, окружностью, овалом и т.п. с обозначением заглавной буквой выносного элемента на полке линии-выноски. У выносного элемента указывают эту букву и масштаб по типу А (5:1) (рис. 5.28, а, б). На рис. 5.28, б выносной элемент выполнен как вид, на изображении детали ему соответствует разрез. На рис. 5.28, в, г приведены выносные элементы, показывающие конструкцию канавки и зуба разборного вакуумно-плотного соединения со схемой нанесения размеров.

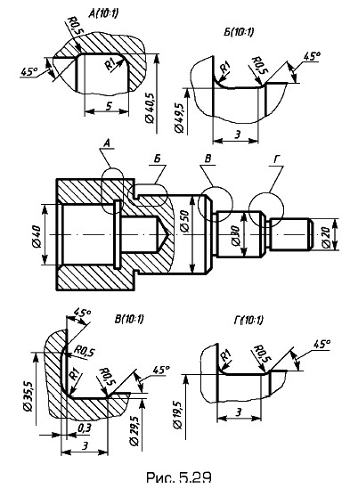
Другой пример выполнения выносных элементов — канавок для выхода шлифовального круга — приведен на рис. 5.29.

Выносной элемент располагают возможно ближе к соответствующему месту на изображении предмета.

Выносной элемент

Выполнения выносных элементов

Следующий параграф >>>

 

 

???????@Mail.ru