Главная >> Машиностроительное черчение. Инженерная графика. Чекмарев

Изображение и обозначение резьбы и резьбовых соединений

Изображение и обозначение резьбы

Изображения наружной цилиндрической и конической резьбы

Примеры изображения наружной цилиндрической и конической резьбы на всей длине детали приведены на рис. 8.9 (см. также рис. 8.1, в), внутренней цилиндрической и конической резьбы — на рис. 8.10 (см. также рис. 8.4, д).

Фаску, размер которой совпадает с глубиной резьбы, в проекции на плоскость, перпендикулярную оси резьбы, не изображают. Поэтому на рис. 8,9, а и 8.10, а на виде слева фаска не изображена, а на виде справа фаска показана, так как она значительно больше глубины резьбы.

Невидимую резьбу изображают штриховыми линиями одинаковой толщины по наружному и внутреннему диаметрам.

Фаска не изображена

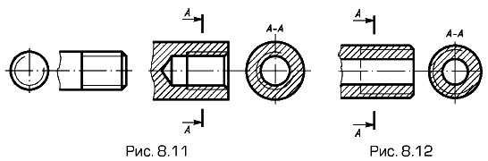
Линию, определяющую границу резьбы, наносят в конце полного профиля резьбы (до начала сбега). Границу резьбы проводят всегда до линии наружного диаметра резьбы и изображают, когда она видима, сплошной основной линией (рис. 8.11).

Штриховку в разрезах и сечениях доводят до сплошной толстой линии, т.е. до линии наружного диаметра наружной резьбы (рис. 8.12) и до линии внутреннего диаметра внутренней резьбы (см. рис. 8.11).

Линия определяющуя границу резьбы

Сбег резьбы, если необходимо, изображают сплошной тонкой линией. Примеры изображения сбега резьбы приведены на рис. 8.13 для наружной (а) и внутренней (б) резьбы. За сбегом резьбы при нарезании резьбы в упор (см. рис. 8.13, а) может оставаться участок без резьбы, называемый недоводом. В результате сбега резьбы и недовода возникает недорез резьбы (см. рис. 8.13, а). Наличие недореза резьбы необходимо учитывать при конструировании резьбовых соединений, а длину полного профиля указывать в чертежах с учетом стандартной длины недореза.

В результате сбега резьбы и недовода возникает недорез резьбы

Если глухое отверстие с резьбой выполняют в стенке детали, которая является герметичной или вакуумно-плотной (рис. 8.14), то обязательно указывают глубину L отверстия под резьбу до вершины гнезда наряду с длиной l резьбы полного профиля.

Конец резьбы в глухом отверстии расположен близко ко дну отверстия, на чертежах, по которым резьба не выполняется (например, в сборочных чертежах), допускается условно изображать резьбу до конца отверстия.

Профили резьб при необходимости (например, с нестандартным профилем) показывают на изображении детали (рис. 8.15) или как выносной элемент (см. рис. 8.18, и).

Профили резьб

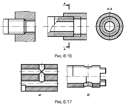
На разрезах резьбового соединения изображают только ту часть внутренней резьбы, которая не закрыта внешней резьбой (рис. 8.16).

Если через резьбу проходит отверстие или прорезь, то их изображают условно, прерывая сплошную тонкую линию в местах расположения отверстия или прорези (рис. 8.17, а). Когда необходимо показать наличие резьбы в зоне этого отверстия или прорези, ее изображают полностью (рис. 8.17, б).

Когда необходимо показать наличие резьбы в зоне этого отверстия или прорези, ее изображают полностью

Обозначения резьб

Примеры обозначений резьбы на чертежах приведены на рис. 8.18. Условное изображение метрической резьбы с крупным шагом состоит из буквы «М» и номинального диаметра, для резьбы с мелким шагом добавляется величина шага. Например, на рис. 8.18, а показано обозначение метрической резьбы номинальным диаметром 24 мм с крупным шагом 3 мм на стержне, а на рис. 8.18, б — метрической резьбы номинальным диаметром 24 мм с мелким шагом 2 мм в отверстии. Для левой резьбы после условного обозначения ставят «LH», например М24 х 2LH.

Многозаходные резьбы обозначают буквой «М», номинальным диаметром, числовым значением хода и в скобках буквой «р» и числовым значением шага. Примеры обозначений: для трехзаходной резьбы с шагом 1 мм и значением хода 3 мм —

М24 х 3 (pI);

для такой же левой резьбы —

M24 х 3 (pI) LH.

Условное обозначение трубной цилиндрической резьбы состоит из буквы G, условного размера внутреннего диаметра трубы в дюймах и буквенного обозначения класса точности А и Б. Примеры обозначения приведены на рис. 8.18, в — на трубе, на рис. 8.18, г — в отверстии.

Обозначения резьб

Условное обозначение трапецеидальной резьбы состоит из букв «Tr», наружного диаметра и шага резьбы, например «Tr36 х 6» на рис. 8.18, д.

Условное обозначение упорной резьбы состоит из буквы «S», наружного диаметра и шага резьбы, например «S80 х 16» на рис. 8.18, е.

На рис. 8.18, ж и з показаны примеры обозначения конической дюймовой резьбы левого направления (R 3/4 LH) на стержне и конической дюймовой резьбе — правой в отверстии (RcI).

Для обозначения параметров нестандартной резьбы показывают все ее основные размеры. Например, на рис. 8.18, и показана резьба прямоугольного профиля. Рекомендуется показывать в масштабе увеличения профиль данной резьбы и все ее размеры: d — диаметр резьбы по выступам; d1 — диаметр резьбы по впадинам; р — шаг резьбы; а — величина выступа.

Следующий параграф >>>

 

 

???????@Mail.ru