Главная >> Машиностроительное черчение. Инженерная графика. Чекмарев

Изображение и обозначение резьбы и резьбовых соединений

Конструктивные и технологические элементы резьбы

Конструктивные и технологические элементы резьбы

Проточка, фаски, сбеги, недорезы.

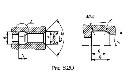
Проточка — кольцевой желобок на стержне или в отверстии — необходима для выхода резьбообразующего инструмента (рис. 8.19 и 8.20). Размеры проточек стандартизованы в ГОСТ 10549—80. Величину радиуса R закруглений принимают равной примерно половине шага резьбы.

Проточка

Для наружной резьбы высоту фаски с условно принимают равной шагу р резьбы, угол наклона образующей фаски к оси резьбы — 45°. Фаску для внутренней резьбы устанавливают, как показано на рис. 8.20.

Фаска для внутренней резьбы

Максимальные значения величины сбега резьбы в зависимости от шага резьбы р принимают равными:

    • нормальный — примерно 2,5p;

    • короткий — примерно 1,25p.

Максимальные значения величины недореза:

    • нормальный — примерно 3p;

    • короткий — примерно 2p;

    • длинный — примерно 4р.

Следующий параграф >>>

 

 

???????@Mail.ru