Главная >> Машиностроительное черчение. Инженерная графика. Чекмарев

Рабочие чертежи деталей. Детали со стандартными изображениями

Правила выполнения чертежей деталей (окончание)

Выбор главного изображения детали

Главное изображение детали выбирают с учетом технологии ее изготовления. Если в процессе изготовления детали одно из ее положений заведомо является преобладающим, то на главном изображении деталь рекомендуется показывать в этом положении. Планки, линейки, валики, оси и т.п. рекомендуется располагать на чертеже горизонтально, а корпусы, кронштейны и т.п.— основанием вниз.

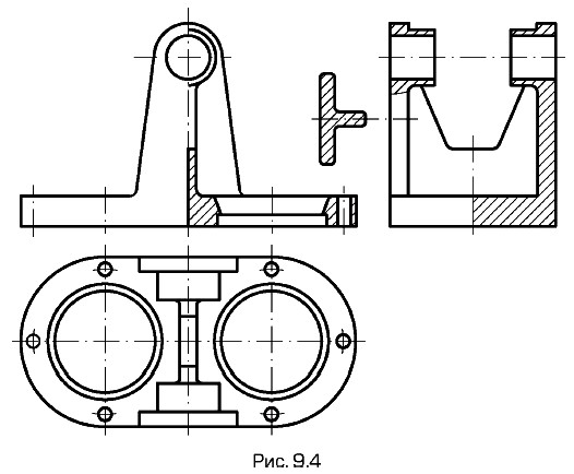
Например, на рис. 5.44 изображен кронштейн с цилиндрическим основанием диаметром 50 мм. Главное изображение — фронтальный разрез вдоль плоскости симметрии детали — наиболее полно выявляет ее внутреннюю форму. Для полного представления конструкции детали требуется пять изображений. Другой пример — кронштейн механизма перестройки частоты на рис. 9.4. Главное изображение — наиболее информативное, кронштейн на нем изображен основанием вниз.

Кронштейн с цилиндрическим основанием

Если деталь сложной конструкции в процессе изготовления не имеет заведомо преобладающего положения, то за главное изображение таких деталей принимают их расположение в готовом изделии.

Примеры главных изображений деталей с горизонтальной осью см. на рис. 9.1, 9.2. Для деталей типа шкивов, колес, шестерен главным изображением является фронтальный разрез. Его обычно выполняют полностью, что облегчает нанесение размеров. Фронтальный разрез выявляет и внешние очертания детали, поэтому вида спереди не требуется.

Детали типа винтов, болтов, валиков изготавливают на токарных станках или автоматах. Ось их при обработке горизонтальна. При изображении таких деталей на чертеже учитывают также положение, в котором выполняют наибольший объем работ по изготовлению детали, т.е. выполняют наибольшее число переходов (переход — обработка одной элементарной поверхности).

Выбор формата и планировки чертежа

Формат чертежа или эскиза выбирают в зависимости от сложности и размеров детали с учетом возможности как увеличения изображения по сравнению с натурой для сложных и мелких, так и уменьшения для простых по форме и крупных деталей. Изображения на чертеже должны обеспечивать ясность всех элементов детали. Для мелких элементов детали используют выносные элементы. Прежде чем выбрать формат чертежа, тщательно анализируют форму детали и определяют количество необходимых изображений. Выполняют это осмотром детали при эскизировании с натуры или мысленным представлением ее формы по чертежу сборочной единицы при деталировании. На предварительно выбранном формате выполняют черновик планировки чертежа, на котором чертят от руки осевые линии и габаритные контуры всех необходимых изображений, штрихуют намеченные разрезы, отмечают зоны для нанесения размеров. Анализируют намеченную планировку с целью выявления возможности уменьшения формата чертежа за счет уменьшения занимаемой площади простыми симметричными изображениями — видами слева, справа, сверху, снизу — путем выполнения только половины этих изображений без снижения ясности чертежа. При таком анализе учитывают также возможность изменения масштаба как всех изображений, так и отдельных из них как в сторону уменьшения изображений, так и в сторону увеличения. По результатам анализа принимают окончательное решение о выбранном формате.

Пример планировки чертежа для детали, показанной на рис. 9.5, приведен на рис. 9.6. Поле Р между изображениями оставлено для нанесения размеров, поле ТТ над основной надписью — для технических требований. Некоторое уменьшение площади и трудоемкости чертежа можно обеспечить за счет изображения половины видов слева и справа. Однако это не позволяет уменьшить формат в два раза, поэтому виды справа и слева оставлены полными.

Пример планировки чертежа

Выбор формата и планировки чертежа

Рассмотрим чертежи деталей по сложившейся их классификации — стандартных деталей, деталей со стандартными изображениями и оригинальных деталей.

<<< К началу параграфа                       Следующий параграф >>>

 

 

???????@Mail.ru