Главная >> Машиностроительное черчение. Инженерная графика. Чекмарев

Рабочие чертежи деталей. Детали со стандартными изображениями

Изображение стандартных деталей

Номенклатура стандартных деталей достаточно широка — от различных типов крепежных деталей до деталей специальных приспособлений. Некоторые из них рассмотрены выше — болты, винты, шпильки, шайбы, гайки, фитинги. Это будет учтено при дальнейшем изложении.

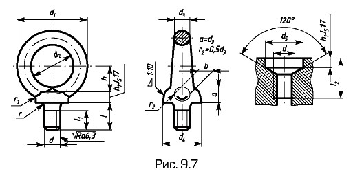
Рым-болт

Рым-болты используют для подъема, опускания или удержания на весу изделий при монтажных и такелажных работах. Размеры рым-болтов и резьбовых гнезд под них приведены на рис. 9.7. Материал — сталь 20 или сталь 25, способ изготовления — штамповка. Пример условного обозначения рым-болта с резьбой М10 без покрытия: Рым-болт М10ГОСТ...

Рым-болт

Грузоподъемность (кг) на один рым-болт определяется тремя значениями: при направлении строп по вертикальной оси, под углом 45° к вертикальной оси рым-болта в плоскости кольца и с отклонением от плоскости кольца. Например, для М10 — 200, 150, 65 кг.

Гайки колпачковые

Гайки колпачковые (рис. 9.8) представляют из себя обычные шестигранные гайки с глухим резьбовым гнездом, имеющим снаружи полусферическую оболочку, прикрывающую выступающий конец винта с резьбой.

Гайки колпачковые

Гайки-барашки

Гайки-барашки (рис. 9.9) предназначены для периодического завинчивания и отвинчивания от руки. Их изготавливают, как колпачковые гайки, двух исполнений: обычные и с отверстиями под стопорный (или крепежный) элемент, например мягкую проволоку.

Гайки-барашки

Гайки круглые

Размеры круглых гаек приведены на рис. 9.10: а — шлицевых; б — со шлицем на торце; в — с радиально расположенными отверстиями под ключ; г — с отверстиями на торце под ключ.

Гайки круглые

Гайки шлицевые точности А и В выпускают по одному стандарту, его указывают перед размером резьбы. Пример условного обозначения: Гайка В. М16х1,5. 7Н.06.05ГОСТ...— гайка круглая шлицевая класса точности В, с диаметром резьбы 16 мм, с мелки шагом резьбы 1,5 мм, полем допуска 7Н, с покрытием химическим оксидным, пропитанным маслом.

Стопорные шайбы с зубьями

Наряду с обычными и пружинными шайбами в промышленности широко используют стопорные шайбы с зубьями (рис. 9.11) двух исполнений — насечные (исполнение 1) и вырубные (исполнение 2) с наружными (б и в) и внутренними (а) зубьями. Шайбы в используют под винты с потайной или полупотайной головкой с углом 90°. Стандартные шайбы всех типов имеют направление зубьев, обеспечивающее стопорение резьбовых деталей с правой нарезкой.

Стопорные шайбы с зубьями

Окончание параграфа >>>

 

 

???????@Mail.ru