Главная >> Машиностроительное черчение. Инженерная графика. Чекмарев

Чертежи оригинальных деталей

Выполнение чертежей деталей

Форма деталей, называемых оригинальными, определяется их функциями в изделии, создаваемом конструктором. Они так же разнообразны, как и сами изделия. Рабочий чертеж детали является тем техническим документом, который служит для передачи от конструктора рабочему всех требований, которым должна удовлетворять деталь при поступлении ее на сборку. Требования, предъявляемые к детали, фиксируются на рабочем чертеже соответствующими изображениями, нанесением размеров, условных знаков формы поверхностей детали, условных указаний или знаков предельных отклонений, условных записей материала, шероховатости поверхностей, качества термообработки и др.

Пользуясь всеми условностями и выполняя все необходимые требования, студент может самостоятельно выполнить чертеж детали только после изучения курса основ взаимозаменяемости, деталей машин, технологии машиностроения, металловедения и многих других предметов, т.е. к концу обучения в институте.

Для освоения выполнения чертежей деталей достаточно ограничиться двумя вопросами: выявлением всех форм и грамотной простановкой размеров. По остальным вопросам ограничиться лишь указанием о месте и форме их отражения на чертежах.

Выполнение чертежей

Количество изображений должно быть наименьшим, но достаточным для однозначного выявления формы и размеров детали. Применяя условные надписи, обозначения и знаки, можно сократить количество изображений.

На рис. 10.1 показан чертеж фиксатора. Для полного представления о форме фиксатора и простановки всех необходимых размеров достаточно одного изображения. Значок диаметра ∅ перед размерами 22 и 12 выявляет цилиндрические формы фиксатора, размер R20 — сферическую поверхность, а размер 2x45° — коническую поверхность фаски.

Выявить формы ступицы (рис. 10.2) можно двумя изображениями. Второе изображение (вид слева) нужно для выявления формы шпоночной канавки, количества отверстий и их расположения.

Формы ступицы, чертеж фиксатора

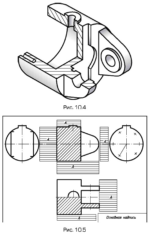
Для определения форм призматической шпонки нужны три изображения (рис. 10.3). Для определения формы детали, показанной на рис. 10.4, требуется уже пять изображений: фронтальный разрез, вид справа, вид слева и половина вида сверху, соединенного с половиной горизонтального разреза (рис. 10.5).

За главное изображение выбирают то, которое дает наиболее полное представление о форме и размерах детали. Главное изображение детали, как правило, располагают в соответствии с ее расположением на сборочном чертеже механизма.

Фронтальный разрез, вид справа, вид слева и половина вида сверху, соединенного с половиной горизонтального разреза

Следующий параграф >>>

 

 

???????@Mail.ru