Главная >> Машиностроительное черчение. Инженерная графика. Чекмарев

Чертежи оригинальных деталей

Простановка размеров на элементы деталей

Дать подробные и точные указания правильной простановки размеров на рабочих чертежах деталей трудно ввиду огромного разнообразия конструкций машин, форм деталей и способов обработки этих деталей.

Основными правилами при простановке размеров являются: во-первых, условия работы детали в изделии и ее конструкция; во-вторых, технологический процесс изготовления детали.

Ниже будут разобраны лишь некоторые элементы технологии изготовления различных деталей и связанные с ними способы простановки размеров, а также кратко рассмотрена связь простановки размеров детали с конструкцией узла, в который она входит.

Рассмотрим некоторые общие положения по простановке размеров к ранее данным (см. § 2.7).

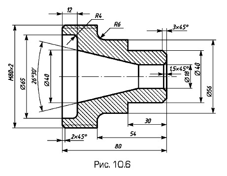
Размерные линии с размерами наносят вне контура изображения (рис. 10.6). Это облегчает чтение чертежа и обеспечивает достаточно места для нанесения размеров, условных знаков и обозначений.

Размерные линии с размерами наносят вне контура изображения

При нанесении нескольких (параллельных) размерных линий следует избегать взаимного пересечения выносных и размерных линий (пересечение выносных линий допускается). Расстояние между размерными линиями и параллельной им линии контура должно быть 7—10 мм.

Перед размерным числом диаметра во всех случаях следует наносить знак диаметра ∅, а перед размерным числом радиуса — букву R (рис. 10.7).

Перед числом диаметра следует наносить знак диаметра

Размер радиуса или диаметра сферической поверхности может сопровождаться знаком О «сфера» в случае, когда это не ясно из чертежа. Все эти обозначения упрощают чтение чертежа и иногда дают возможность уменьшить число изображений.

Не рекомендуется проставлять размеры внутреннего контура детали, изображенного на чертеже штриховыми линиями.

При нескольких изображениях размеры, определяющие какой- либо элемент, следует давать только один раз и проставлять их на том изображении, на котором данный элемент детали дается наиболее полно (рис. 10.8). Например, размеры, определяющие форму четырех отверстий, даны на местном разрезе, выполненном на главном изображении, размеры прямоугольного отверстия — также на главном изображении, а размеры продольного паза — на виде слева.

При нескольких изображениях размеры, определяющие какой- либо элемент

Простановку размеров на деталях, имеющих внутренние формы, по возможности группируют: размеры, относящиеся к внутренним очертаниям, отдельно от размеров, относящихся к наружным очертаниям.

Пример такой группировки размеров дан на рис. 10.9, где размеры длин, относящиеся к наружным очертаниям, нанесены внизу, а размеры длин, характеризующие внутреннюю форму,— наверху.

Пример группировки размеров дан на рис.

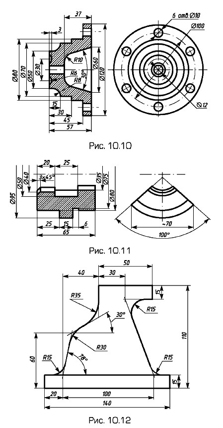
Для деталей тел вращения или сочетания различных тел вращения размеры диаметров следует проставлять на изображении, полученном проецированием на плоскость, параллельную оси тела. При такой простановке размеров можно легко прочитать форму детали (рис. 10.10). Нанесение размеров диаметров окружностей на изображении, полученном проецированием на плоскость, перпендикулярную оси тела, допускается для максимального и минимального диаметров и для диаметра окружности, характеризующей расположение осей отверстий.

Для деталей, представляющих собой часть тела вращения, полученных разрезкой заготовки на две или несколько частей, размеры проставляют также на изображении, полученном проецированием на плоскость, параллельную оси, а размерные линии выполняют с обрывом (рис. 10.11).

Угловые размеры осей отверстий ∅ 10 (рис. 10.10), равномерно расположенных по окружности, обычно не проставляют, а указывают только их количество.

При простановке размеров на деталях сложной конфигурации с плавными переходами фиксируют основной контур, составленный из прямолинейных участков, как показано на рис. 10.12.

Угловые размеры осей отверстий

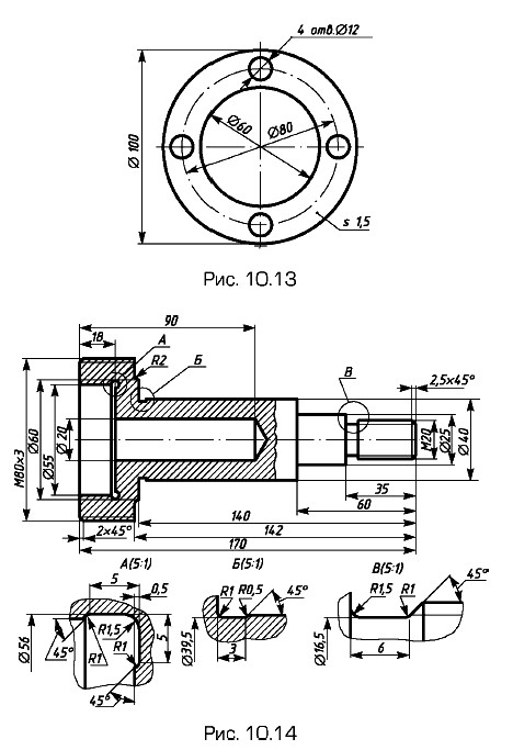
При изображении детали в одной проекции размер толщины наносят, как показано на рис. 10.13.

При отсутствии на чертеже места для простановки размерных чисел на изображении мелких элементов последние следует выносить на свободное поле чертежа в увеличенном масштабе и проставлять размеры, как показано на рис. 10.14.

При отсутствии на чертеже места для простановки размерных чисел на изображении мелких элементов последние следует выносить на свободное поле чертежа

Продолжение параграфа >>>

 

 

???????@Mail.ru