Главная >> Машиностроительное черчение. Инженерная графика. Чекмарев

Изображение соединений деталей

Сопряженные и свободные размеры механических соединений

Размеры деталей сборочных единиц подразделяют на сопряженные и свободные. Сопряженные размеры — это размеры сопрягаемых (соединяемых) деталей, которые должны быть одинаковы. Они обеспечивают заданное положение деталей в сборочной единице, точность ее работы, надлежащие условия сборки и разборки, требуемую взаимозаменяемость. После изготовления деталей эти размеры обязательно проверяют контролеры службы контроля или управления качеством.

Вопросам правильного измерения и нанесения сопряженных размеров уделяют особое внимание при съемке эскизов с деталей устройств.

Свободные размеры обычно относят к поверхностям деталей, не соприкасающимся с другими деталями сборочной единицы и не влияющим существенно на работу механизма. Однако значения отдельных свободных размеров смежных деталей могут быть взаимно связаны определенными конструктивными условиями (значения свободных размеров одной детали наносят в соответствии с аналогичными размерами смежных деталей). Такие размеры называют свободными зависимыми.

Правильное нанесение на чертеже деталей таких взаимозависимых (зависимых) свободных размеров является необходимым условием обеспечения правильной работы изделия, его монтажа и демонтажа. Поэтому при съемке эскизов выделяют свободные зависимые размеры деталей устройства и проверяют правильность их измерения и нанесения на эскизах.

Характер взаимосвязи размеров деталей сборочной единицы определяется ее конструкцией. Поясним это на примерах.

На рис. 11.2 показано седло 1 клапана, запрессованное в корпус 2 по диаметру d1 значение которого для седла и корпуса является сопряженным размером. В то же время диаметры d2 седла и d3 корпуса являются свободными зависимыми размерами, так как к ним не предъявляется больших требований по точности изготовления; необходимо только, чтобы d3 > d2. Здесь же свободными зависимыми размерами являются размеры l1 седла и l2 отверстия в корпусе; для них также необходимо условие

На рис 11.3 показано винтовое соединение двух деталей. Наружные диаметры резьбы d винта 3 и детали 1 являются сопряженными (внутренний и средний диаметры резьбы также являются сопряженными размерами, но в обозначении резьбы на чертежах деталей их не указывают). Наружный диаметр d резьбы винта и диаметр d1 отверстия в детали 2 представляют собой свободные зависимые размеры, так как отверстие в детали 2 должно быть больше диаметра винта.

Винтовое соединение двух деталей

Сопряженные размеры двух конических поверхностей с одинаковой конусностью показаны на примере фрикционной муфты (рис. 11.4). Сопряжение конических поверхностей определяется величиной сопряженных размеров — их конусности 1 : а и диаметрами d (конусность — отношение разности диаметров двух сечений конуса к расстоянию между ними). При этом диаметры d задают в «основной» плоскости, являющейся для наружного конуса (левая полумуфта 1) плоскостью его большего основания. Для внутреннего конуса (правая полумуфта 2) положение «основной» плоскости определено размером l от одного из торцов детали.

Сопряженные размеры двух конических поверхностей

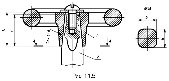
Сопряженные размеры двух пирамидальных поверхностей показаны на рис. 11.5. Для передачи крутящего момента c маховика 1 на шток 2 вакуумного вентиля их сопряжение выполнено в виде четырехгранной пирамиды. Сопряженные размеры здесь — уклон 1 : а посадочных граней относительно оси штока и размеры поперечных сечений отверстия в маховике и конца штока, определяемые в «основной» плоскости, т.е. размеры b стороны квадрата (в сечении A — A). Длина l посадочной поверхности штока и длина l1 посадочной поверхности маховика являются свободными зависимыми размерами с условием l1 > l, чтобы обеспечить осевую затяжку маховика на штоке.

Сопряженные размеры двух пирамидальных поверхностей

Другие примеры осевых сопряженных и свободных зависимых размеров приведены ниже.

Окончание параграфа >>>

 

 

???????@Mail.ru