Главная >> Машиностроительное черчение. Инженерная графика. Чекмарев

Изображение соединений деталей

Сопряженные и свободные размеры механических соединений (окончание)

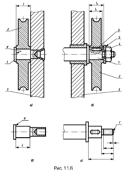
На рис. 11.6, а, б показаны два варианта установки ролика 2 на панели 3 прибора: а — ролик вращается на неподвижной оси 1; в — ролик вращается вместе с валом 1, на котором он закреплен при помощи гайки 4, шайбы 5 и шпонки 6. В первой конструкции (рис. 11.6, а) размеры l ролика и оси — сопряженные размеры. Необходимый зазор обеспечивают специально назначенными допускаемыми отклонениями этих размеров (их изучают в курсе по допускам, посадкам и техническим измерениям) так, чтобы длина оси всегда была несколько больше длины ролика (при равенстве величины номинального значения l у ролика и оси). Размеры длины оси и длины ролика выполняют с большой точностью. При неправильном выполнении этих размеров ролик может быть зажат в осевом направлении или, напротив, между роликом и корпусом может возникнуть недопустимый осевой зазор (люфт). Правильное нанесение размера l длины на оси ролика от конструктивной базы — торца K — показано на рис. 11.6, б. Во второй конструкции (рис. 11.6, в) ролик зажат на валу в осевом направлении, что обеспечивает условие l1 < l2. В этом случае размеры l1 и l2 — свободные зависимые. Схема нанесения размеров длины на вале от технологической базы Т в этом случае приведена на рис. 11.6, г.

Два варианта установки ролика

Другой пример нанесения размеров длины от технологической базы T приведен на рис. 11.7 для случая неподвижного крепления шарикоподшипника на валу (условно показана только половина разреза). Свободные зависимые размеры: l — высота внутреннего кольца подшипника, А и Б — осевые размеры вала (l > Б - А). Конструктивная база вала — торец K. Размеры А и Б нанесены от технологической базы Т.

Нанесения размеров длины от технологической базы T

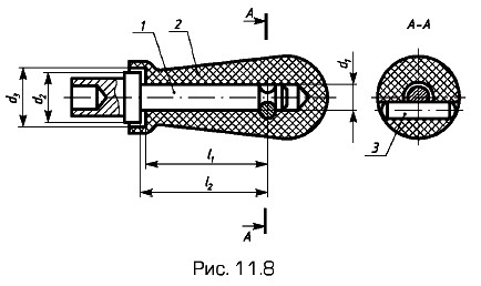
На рис. 11.8 изображена рукоятка прибора, ручка 2 которой свободно вращается на оси 1. Штифт 3 предохраняет ручку от соскальзывания с оси, а кольцевая канавка на оси допускает свободное вращение ручки со штифтом вокруг оси. Размер l2, определяющий положение канавки на оси, и размер l1, определяющий положение штифта в ручке, являются свободными зависимыми размерами (l2 > l1). В данной конструкции имеются и другие — как сопряженные (диаметр d1), так и свободные зависимые (d2 и d3, d3 > d2) размеры диаметров оси и ручки.

Рукоятка прибора

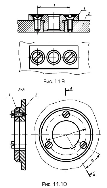
Сопряженными являются также размеры, определяющие положение осей отверстий двух соединяемых винтами, болтами или шпильками деталей (см. рис. 11.9, 11.10).

На рис. 11.9 сопрягаемый размер l определяет положение осей отверстий под винты в подшипнике скольжения 1 и в корпусе 2 прибора.

Сопряженными являются также размеры, определяющие положение осей отверстий двух соединяемых винтами, болтами или шпильками деталей

В конструкции на рис. 11.10 для деталей 1 и 2 диаметр d расположения осей отверстий под крепежные детали является сопряженным. Сопряженным является и угловой размер (величина угла а), определяющий положение шпоночных пазов в обеих деталях относительно осей их крепежных отверстий.

Приведенные примеры, разумеется, не исчерпывают всего многообразия сопряженных и свободных зависимых размеров на чертежах деталей. Однако при съемке эскизов необходимо анализировать конструкцию сборочных единиц и особое внимание обращать на правильность измерения и нанесения указанных размеров.

<<< К началу параграфа                       Следующий параграф >>>

 

 

???????@Mail.ru