Главная >> Машиностроительное черчение. Инженерная графика. Чекмарев

Изображение соединений деталей

Изображение сварных соединений

Сварные конструкции очень широко применяются в современной технике. При выполнении чертежей деталей, входящих в сварной узел, следует учитывать, что процесс сварки вызывает коробление свариваемых деталей и поэтому окончательная обработка некоторых поверхностей (сопряженных с поверхностями других деталей) производится после сварки. Поэтому при выполнении чертежей деталей сборки, в которую входит сварной узел, следует выполнять чертежи отдельных деталей этого сварного узла (если нужно, указав разделку кромок под сварку) и всего узла в сборе после сварки. На последнем чертеже должны стоять размеры, относящиеся к взаимному расположению свариваемых деталей, и размеры механической обработки.

Сварной узел (опора)

Детали сварного узла

Показанный на рис. 11.24 сварной узел (опора) состоит из пяти деталей: пластины, плиты, втулки и двух ребер. Чертежи этих деталей показаны на рис. 11.25. Чертеж сварного узла приведен на рис. 11.26. На этом чертеже размер 30 (расположение пластины) и размер 75 (расстояние между ребрами) необходимы сварщику. После сварки обрабатывают поверхность Р плиты и цилиндрическую поверхность втулки, выдерживая размеры 65 (до оси втулки) и диаметр 25. Обрабатывают также торцы втулки М и N по размеру 30. Размеры ∅ 25 и 30 втулки и толщина плиты 12, подвергаемые указанной механической обработке, указаны на рис. 11.25 условно со звездочкой; эти размеры должны иметь припуск на обработку. Сверление отверстий в плите производят после обработки втулки (рис. 11.26), связывая их положение с торцом M (размер 8).

Чертежи сварного узла

Изображение швов сварных соединений

Сварка — процесс получения неразъемного соединения посредством установления межатомных связей между свариваемыми частями при их местном или общем нагреве, либо пластическом деформировании, либо совместным действием того и другого (ГОСТ 2601—84). Способы сварки определяются формой энергии для образования сварного соединения, видом источника энергии и технологическими признаками.

Условные изображения и обозначения сварных соединений стандартизованы. Сварные соединения независимо от способа сварки условно изображают: видимые швы — сплошной основной линией (справа на рис. 11.27, а, в). От изображения шва проводят линию-выноску, заканчивающуюся односторонней стрелкой (рис. 11.27, справа), невидимые — штриховой линией (справа на рис. 11.27, б, г).

Условные изображения и обозначения сварных соединений

Видимую одиночную сварную точку обозначают знаком «+» (рис. 11.28), невидимые сварные точки не изображают.

Видимую одиночную сварную точку обозначают знаком «+»

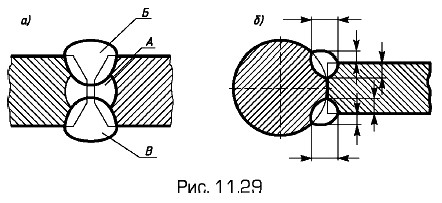
На изображение сечения многопроходного шва допускается наносить контуры отдельных проходов, при этом их обозначают прописными буквами русского алфавита (рис. 11.29, а). Для нестандартного шва указывают размеры конструктивных элементов, необходимых для его выполнения (рис. 11.29, б). Границы шва изображают сплошными основными линиями, а конструктивные элементы кромок в границах шва — сплошными тонкими линиями.

Изображение сечения многопроходного шва

Окончание параграфа >>>

 

 

???????@Mail.ru