Главная >> Машиностроительное черчение. Инженерная графика. Чекмарев

Изображение соединений деталей

Изображение клепаных соединений

Клепаные соединения и их условные стандартные изображения приведены на рис. 11.19. На рис. 11.19, а показаны соединения заклепкой с полукруглой, плоской или скругленной головкой и такой же замыкающей головкой. На рис. 11.19, б дано соединение с потайной головкой и полукруглой, плоской или скругленной замыкающей головкой. На рис. 11.19, в изображено соединение с потайной головкой и потайной замыкающей головкой. На рис. 11.19, г дано соединение заклепкой с полупотайной замыкающей головкой. На рис. 11.19, д представлены соединения специальными заклепками. Условные изображения (справа) показаны в сечении и на виде.

Клепаные соединения и их условные стандартные изображения

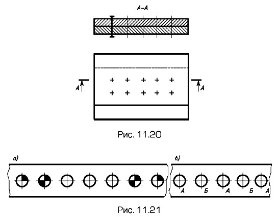
Если изделие, изображенное на сборочном чертеже, имеет ряд однотипных соединений и заклепками одного типа с одинаковыми размерами, то заклепки, входящие в соединения, показывают условной в одном-двух местах каждого соединения, а в остальных — центровыми или осевыми линиями (рис. 11.20). Группы одинаковых заклепок обозначают (рис. 11.21) условными знаками (а) или буквами (б).

Изображенное на сборочном чертеже, имеет ряд однотипных соединений и заклепками одного типа с одинаковыми размерами

Конструкция и размеры стандартных заклепок приведены на рис. 11.22: а — с полукруглой головкой; б — с потайной головкой; в — с полукруглой низкой головкой; г — с плоской головкой.

Конструкция и размеры стандартных заклепок

Схема условного обозначения заклепок дана на примере:

Заклепка С8к20.38.М3.03ГОСТ..., где С — класс точности (класс точности Bне указывают); 8 — диаметр стержня, мм; 20 — длина, мм; 38 — условное обозначение марки (группы) материала; М3 — марка материала; 03 — условное обозначение вида покрытия и его толщины; ГОСТ — обозначение стандарта на конкретный вид заклепок.

Кроме указанных стандартизованы и выпускаются пустотелые (а) и полупустотелые (б) заклепки (рис. 11.23). Пустотелые заклепки стандартизованы со скругленной, с плоской и потайной головками.

Пустотелые заклепки стандартизованы со скругленной, с плоской и потайной головками

Материал заклепок достаточно пластичный для образования головок: углеродистые стали Ст2, 10, 10кп, Ст3, 15, 15кп, легированная сталь 09Г2, нержавеющая сталь 12Х18Н9Т, латунь Л63, Л63 (антимагнитная), медь М3, МТ, алюминиевые сплавы АМг5П, Д18, АД1.

Следующий параграф >>>

 

 

???????@Mail.ru