Главная >> Машиностроительное черчение. Инженерная графика. Чекмарев

Изображение соединений деталей

Изображение подшипников (окончание)

Различны марки материалов, из которых их изготавливают (например, из сталей марок ШХ15, ШХ15СГ и др.), различны степени точности, покрытия, термообработка и некоторые другие параметры. Все эти особенности могут быть отражены в условном обозначении подшипника качения. Основное условное обозначение состоит из семи цифр, отсчитываемых справа налево.

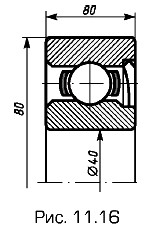
Первые две цифры определяют внутренний диаметр подшипника как частное от деления на 5. Так, например, для d =400 мм в условное обозначение войдет число 80; для подшипника, показанного на рис. 11.16, войдет число 081. Третья цифра характеризует серию по D. Пусть в данном примере легкая серия диаметров 2. Вносим ее в условное обозначение: 208. Эта серия совместно с серией ширин определяет основные размеры подшипника — D и В. Четвертая цифра характеризует тип подшипника по направлению воспринимаемой нагрузки и формы тела качения, обозначаемый согласно табл. 3 ГОСТ 3189—75 цифрой от 0 до 9. Так, например, шариковый радиальный обозначают цифрой 0, роликовый радиальный с короткими цилиндрическими роликами — 2, роликовый игольчатый — 4, шариковый упорный — 8, роликовый конический — 7 и т.д. Дополняем обозначение четвертой цифрой: 0208.

    1 Здесь и далее рассмотрены случаи, когда 20 ≤ d ≤ 495 мм, исключая диаметры, равные 22, 28 и 43, как не делящиеся на 5. Их обозначения, а также для 20 > d ≥ 500 мм имеют некоторые особенности — см. ГОСТ 3189—75. Подшипники шариковые и роликовые. Система условных обозначений.

Условном обозначении подшипника качения

Пятая и шестая цифры определяют конструктивную разновидность подшипника, обозначаемую по ГОСТ 3395—75 от 00 до 99. В данном примере радиальный шариковый подшипник имеет одностороннее уплотнение. Его обозначение — 16, выпускают по ГОСТ 8882—75. Дополняем обозначение 160208 ГОСТ 8882—75.

Седьмая цифра определяет серию ширин, в данном примере — 3 (широкая). Вносим ее в обозначение 3160208ГОСТ 8882—75, которое наносят на торцовой (нерабочей) поверхности подшипника. Нулевые обозначения, расположенные левее последней значащей цифры, не указывают. Пусть 0 — обозначение типа подшипника, 00 — конструктивной разновидности, 0 — серии ширин. Тогда условное обозначение будет состоять из трех цифр, например 204 ГОСТ8338-75 (см. рис. 11.15).

Класс точности (0 — нормальная, 6, 5, 4, 2 — повышенные в порядке возрастания) указывают через тире перед обозначением, например: 2-3160208ГОСТ8288-75; 6-204ГОСТ8338-75.

Шарики и ролики (чаще игольчатые) применяют и в качестве отдельных деталей.

Примеры обозначений:

    Шарик 5,8 — 10ГОСТ3722-81, где 5, 8 — номинальный диаметр в мм; 10 — степень точности.

    Ролик 2x15,8.3 ГОСТ 6870-81, где 2 — диаметр; 15,8 — длина в мм ролика игольчатого; 3 — степень точности, исполнение А (не указывают).

Подшипники качения на сборочных чертежах согласно ГОСТ 2.420—69, как правило, в осевых размерах и сечениях изображают упрощенно, без указания типа и конструктивных особенностей, основными линиями обводят только их контур с проведением тонких диагоналей (рис. 11.17, а). При необходимости в контур подшипника вписывают условное графическое обозначение по ГОСТ 2.770—68, как показано на рис. 11.18 в последовательности, как на рис. 11.14.

Подшипники качения на сборочных чертежах

В контур подшипника вписывают условное графическое обозначение

На учебных чертежах целесообразно применять «смешанные» изображения (рис. 11.17, б) с допустимыми ГОСТ 2.109—73 упрощениями, т.е. без фасок, галтелей, сепаратора и т.п.

<<< К началу параграфа                       Следующий параграф >>>

 

 

???????@Mail.ru