Главная >> Машиностроительное черчение. Инженерная графика. Чекмарев

Чертеж общего вида изделия

12.4. Разработка чертежа общего вида

Нанесение номеров позиций

Номера позиций деталей, материалов или сборочных единиц, входящих в изделие, указывают на полках линий-выносок, проводимых от соответствующих деталей, материалов или сборочных единиц (см. ГОСТ 2.109—73).

Линии-выноски и полки на чертежах выполняют сплошной тонкой линией толщиной s/2. Длина полок — 6...8 мм.

Линию-выноску заканчивают точкой на изображении соответствующей ей составной части устройства. Если размер или характер изображения составной части устройства не позволяет закончить линию-выноску точкой, то ее заканчивают стрелкой, упирающейся в изображение этой составной части. Например, стрелками заканчивают линии-выноски на изображениях пружин (см. рис. 11.4) с малым (менее 2 мм) поперечным сечением витков; на изображениях тонких прокладок и некоторых деталей, изготавливаемых из тонких листовых материалов (толщиной менее 2 мм); на изображениях мелких винтов, штифтов, шайб (дет. 8 на рис. 12.2), гнезд, пистонов, проводов и т.п.

Линии-выноски на чертеже общего вида по возможности не должны пересекаться с размерными и выносными линиями. Это легче обеспечить при коротких выносных линиях и оптимальной группировке позиций.

Если линии-выноски пересекают заштрихованные изображения (сечения) деталей, то их проводят так, чтобы они не были параллельны линиям штриховки.

Номера позиций указывают на тех изображениях, на которых соответствующие составные части устройства проецируются как видимые, — как правило, на основных видах и разрезах.

Номера позиций располагают параллельно основной надписи чертежа вне контура изображения и группируют их в колонку или строчку по возможности на одной линии (см. рис. 12.2) и как можно ближе к изображению.

На чертеже общего вида по возможности группируют расположение полок линий-выносок позиций тех деталей, которые в конструкции сборочной единицы взаимосвязаны общим функциональным назначением или условиями совместной сборки и разборки. Так, например, на рис. 12.2 сгруппированы вместе позиции взаимосвязанных деталей 7, 8 и 12, которые в конструкции верньера со вместно выполняют функцию безлюфтовой шариковой опоры для вала 6, а также позиций корпуса 2 и стягивающего его винта 11.

На сборочных чертежах номера позиций на поле чертежа наносят в соответствии с порядком записи составных частей в спецификации.

Номера позиций присваивают всем составным частям устройства, т.е. сборочным единицам, деталям, стандартным изделиям и материалам. Нанесение номеров позиций выполняют по принципу сквозной нумерации. Порядок нумерации составных частей устройства следующий: вначале номерами позиций обозначают сборочные единицы устройства, затем — его детали, далее — стандартные изделия и в последнюю очередь — материалы, между группами — резервные номера.

Позиции для сборочных единиц, входящих в состав устройства, указывают от изображения их основных деталей. Например, на рис. 12.2 номер позиции армированной сборочной единицы — ручки верньера 1 указан от изображения ее материала, так как в данном случае материал является основной составной частью ручки.

Деталям и материалам, которые входят в состав сборочных единиц устройства, номера позиций на чертеже общего вида не присваивают. Такие детали и материалы учитывают в спецификациях соответствующих сборочных единиц, выполняемых при составлении для них сборочных чертежей в процессе съемки эскизов.

Нумерацию деталей устройства начинают с его основной детали (корпуса, основания, шасси и т.п.).

Номер позиции, как правило, наносят на чертеже один раз. Если в устройстве содержится несколько одинаковых деталей, то линией-выноской и номером позиции отмечают только одну из них, количество таких деталей указывают в таблице составных частей устройства в соответствующей графе (например, на рис. 12.2 детали 3, 7, 8, 12).

Допускается делать общую линию-выноску с вертикальным расположением номеров позиций для группы крепежных деталей, относящихся к одному и тому же месту крепления. В этих случаях линию-выноску проводят от изображения составной части, номер которой указывают первым (рис. 12.7).

Нанесение номеров позиций

Размер шрифта номеров позиций должен быть на один-два размера больше, чем размер шрифта, принятого для размерных чисел на том же чертеже (на чертежах общего вида в учебном процессе номера позиций выполняют шрифтом № 7).

Выполнение таблицы составных частей изделия

Для чертежа общего вида перечень составных частей изделия оформляют в виде таблицы (ГОСТ 2.120-73).

Таблицу составных частей изделия по содержанию, а также порядок ее заполнения обычно принимают аналогичными спецификации и порядку ее заполнения, которые предусмотрены для уборочных чертежей (см. § 13.1).

Таблицу выполняют на одном листе с чертежом общего вида и размещают на свободном поле чертежа, обычно в правом нижнем углу чертежа непосредственно над его основной надписью.

Чертеж общего вида более сложного изделия

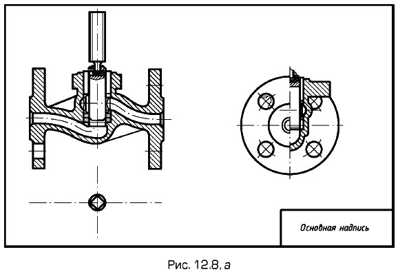
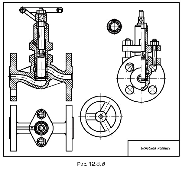
Поэтапное выполнение чертежа общего вида более сложного изделия — вентиля приведено на рис. 12.8, а, б, в.

Выполнение чертежа общего вида

Выполнение чертежа общего вида б

Выполнение чертежа общего вида в

<<< К началу параграфа                       Следующий параграф >>>

 

 

???????@Mail.ru