Главная >> Машиностроительное черчение. Инженерная графика. Чекмарев

Чертеж общего вида изделия

Упрощения, допускаемые при выполнении чертежей общего вида

В учебном процессе при выполнении чертежей общего вида обычно не применяют упрощенные, а тем более условные изображения крепежных деталей по ЕСКД ГОСТ 2.315—68. Допускается пользоваться упрощенными изображениями крепежных деталей в тех случаях, когда на чертеже диаметры их стержней менее 3 мм.

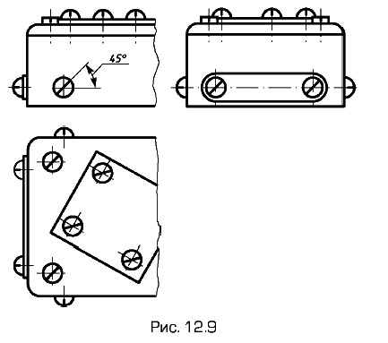
Разрешается шлицы на головках крепежных деталей при ширине их менее 1 мм изображать одной сплошной линией: на одном виде — по оси крепежных деталей, на другом — под углом 45° к рамке чертежа или по углом 45° к центровой линии, когда последняя наклонена к рамке чертежа под углом, близким к 45° (рис. 12.9).

Разрешается шлицы на головках крепежных деталей при ширине их менее 1 мм изображать одной сплошной линией

В чертежах общего вида на изображениях резьбовых соединений разрешается не показывать разность между глубиной отверстия под резьбу и длиной резьбы, изображая конец глухого резьбового отверстия. Если чертеж общего вида содержит ряд однотипных элементов (например, ряд одинаковых отверстий или винтовых, болтовых, заклепочных и т.п. соединений), то на всех изображениях чертежа общего вида, содержащих однотипные элементы, последние целесообразно показывать полностью независимо от их числа. Например, на рис. 12.2 изображены все одинаковые отверстия 03,5 мм, на рис. 12.9 — головки всех винтов.

Номера позиций для повторяющихся однотипных соединений наносят один раз для каждой группы одинаковых по типу и размерам соединений.

Допускается не показывать фаски на стержнях с резьбой и в отверстиях с резьбой.

На чертеже общего вида допускается не показывать крышки, кожухи, экраны, рукоятки и другие детали, загораживающие закрытые ими составные части устройства. При этом над изображением делают соответствующую надпись, например: Крышка не показана или Крышка поз. 3 не показана.

Если в таких случаях технические формы этих деталей на других изображениях устройства выявлены не полностью, то чертеж общего вида дополняют соответствующими видами на отсутствующие изображения этих деталей, которые сопровождают надписями по типу: Г, дет. 3.

Следующий параграф >>>

 

 

???????@Mail.ru